EasyManua.ls Logo

360 Systems Image Server 2000 - Page 22

Default Icon
135 pages
Print Icon
To Next Page IconTo Next Page
To Next Page IconTo Next Page
To Previous Page IconTo Previous Page
To Previous Page IconTo Previous Page
Loading...
Page 22 Image Server 2000 Owner’s Manual
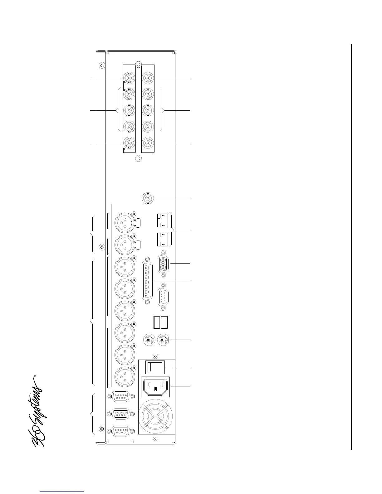
Rear Panel Drawing
41 2 3 5 6
7 8 9
10
11 12 13 14 15 16 17
100 - 240 VOLTS, 50 - 60Hz, 2 AMPS MAX
CH 3 PLAY
AUX 3 L/R
MAIN 3 R
CH 2 PLAY
CH 1 REC/PLAY
MAIN 3 L/R
MAIN 3 L
KEYBD
MAIN 2 L/R
MAIN 2 L
MOUSE
USB
OUTPUT
AUX 2 L/R
MAIN 2 R
MAIN IN L/R
MAIN IN L
SERIAL
GPI
MAIN 1 L/R
MAIN 1 L
MONITOR
AUX 1 L/R
MAIN 1 R
AUX IN L/R
MAIN IN R
NET 2NET 1
GIGABIT LAN
INPUT
DIGITAL
ANALOG
GENLOCK
INPUT
GIGABIT LAN
MADE IN USA
LTC IN
CH 1-3
LTC OUT
CH 1-3
2
2
CVBS
OUT
SDI
OUT
3
3
SDI
OUT
CVBS
OUT
SDI
OUT
1
CVBS
OUT
1
CVBS
IN
1
SDI
IN
1
WESTLAKE VILLAGE, CALIFORNIA, USA
Figure 1: Rear Panel Features
1. (3) serial control ports (EIA-422)
2. (6) XLR-3 audio outputs (AES/EBU digital
or +4 balanced analog)
3. (2) XLR-3 audio inputs (AES/EBU digital
or +4 balanced analog)
4. LTC time code input
5. (3) Composite video outputs
6. Composite video input
7. AC Power connector
8. AC Power switch
9. Mouse port
10. Keyboard port
11. GPI port, 25-pin female:
(6) opto-isolated inputs, (6) status outputs
12. SVGA monitor port
13. Gigabit Ethernet ports
14. Genlock Input
15. LTC time code output
16. (3) SDI video outputs
17. SDI video input