EasyManua.ls Logo

Abus FUGB50000 - Page 16

Abus FUGB50000
Print Icon
To Next Page IconTo Next Page
To Next Page IconTo Next Page
To Previous Page IconTo Previous Page
To Previous Page IconTo Previous Page
Loading...
16
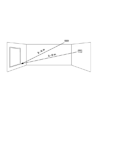
The best position is approx. 2-3 metres from the window
pane. Maintain a distance of at least 1.2 metres to other
sources of noise (TV, radio, doors etc.) to avoid possible
false alarms. The maximum distance to the window pane is
6 metres. For security glass (class A1 to A3, EH01), the
distance must not exceed 3.65 metres.
The sensor must NOT be attached in the following
locations:
- In rooms with interior window blinds
- In rooms with sound insulation or sound absorbing
curtains
- In the corner of a room
- In glass air-locks, loud kitchens, garages,
workshops, staircases, bathrooms or other small,
loud rooms
- In damp rooms
- Next to or on large metal structures. Less than one
metre away from power lines and metal, water and

Related product manuals