EasyManua.ls Logo

Acorto 2000s - Page 191

Acorto 2000s
237 pages
Print Icon
To Next Page IconTo Next Page
To Next Page IconTo Next Page
To Previous Page IconTo Previous Page
To Previous Page IconTo Previous Page
Loading...
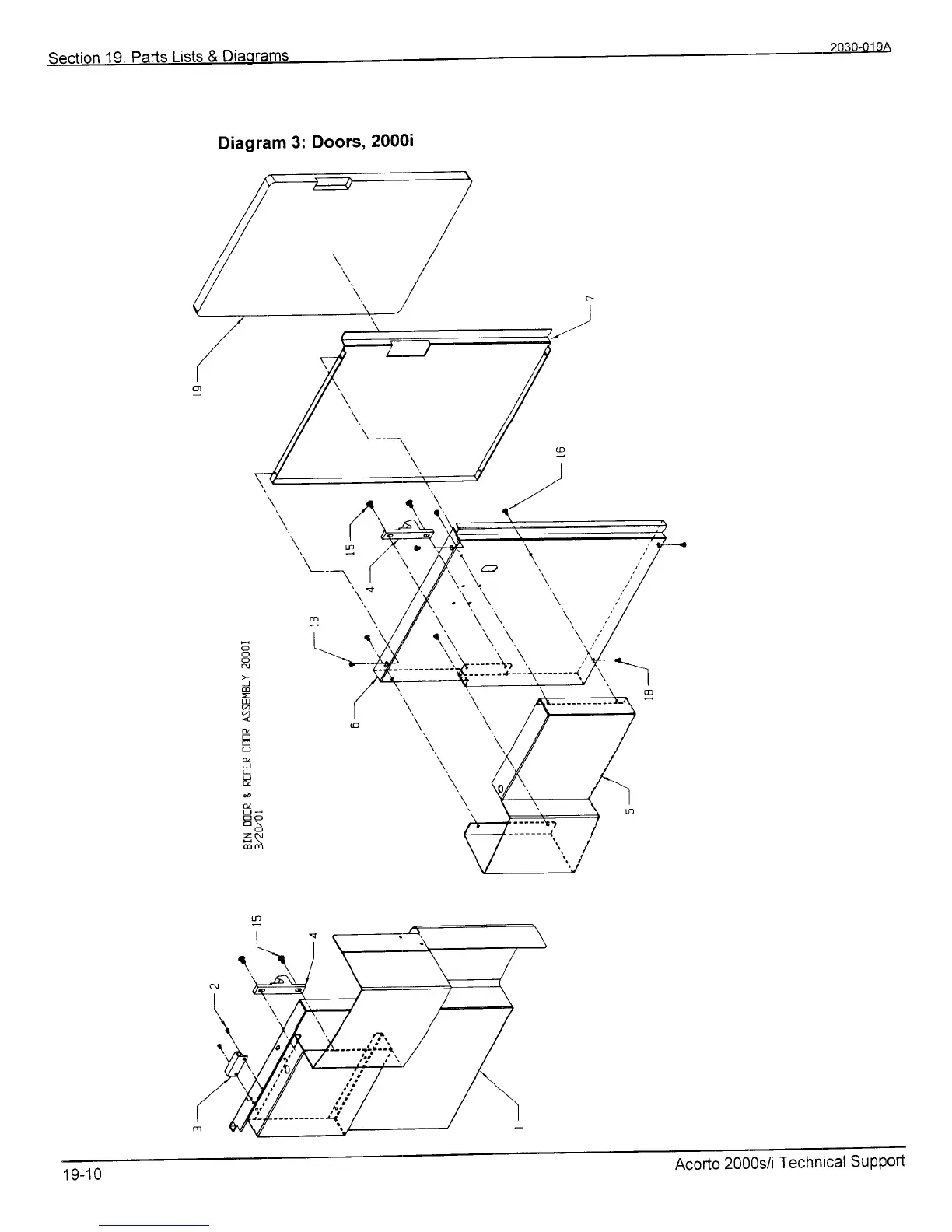
Diagram
3:
Doors,2000i
I
\
t
A
(
o
O
O
N
I
m
=
U
q
v
E
E
o
@
U
u-t
&
u
E-
o\
o
ZN
@m
Acorto
2000s/i
Technrcal
SuPPort
19-10