EasyManua.ls Logo

AEG IKE84441FB - Page 11

AEG IKE84441FB
24 pages
Print Icon
To Next Page IconTo Next Page
To Next Page IconTo Next Page
To Previous Page IconTo Previous Page
To Previous Page IconTo Previous Page
Loading...
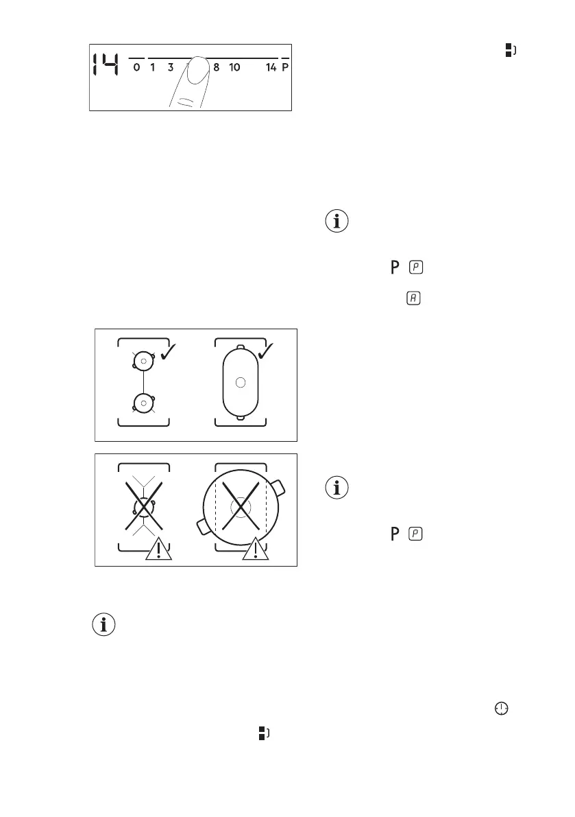
5.4 Using the cooking zones
Place the cookware in the centre of the
selected zone. Induction cooking zones
adapt to the dimension of the bottom of
the cookware automatically.
You can cook with large cookware
placed on two cooking zones at the
same time. The cookware must cover the
centres of both zones but not go beyond
the area marking.
If the cookware is located between the
two centres, the bridge function will not
be activated.
5.5 Bridge
The function operates when
the pot covers the centres of
the two zones.
This function connects two left side
cooking zones and they operate as one.
First set the heat setting for one of the
left side cooking zones.
To activate the function: touch . To
set or change the heat setting touch one
of the control sensors.
To deactivate the function: touch .
The cooking zones operate
independently.
5.6 Automatic Heat Up
Activate this function to get a desired
heat setting in a shorter time. When it is
on, the zone operates on the highest
setting in the beginning and then
continues to cook at the desired heating
setting.
To activate the function the
cooking zone must be cold.
To activate the function for a cooking
zone: touch ( comes on).
Immediately touch a desired heat setting.
After 3 seconds comes on.
To deactivate the function: change the
heat setting.
5.7 PowerBoost
This function makes more power
available to the induction cooking zones.
The function can be activated for the
induction cooking zone only for a limited
period of time. After this time the
induction cooking zone automatically
sets back to the highest heat setting.
Refer to “Technical data”
chapter.
To activate the function for a cooking
zone: touch
. comes on.
To deactivate the function: change the
heat setting.
5.8 Timer
Count Down Timer
You can use this function to set how long
the cooking zone should operate for a
single cooking session.
First set the heat setting for the cooking
zone then set the function.
To set the cooking zone: touch
again and again until the indicator of a
necessary cooking zone comes on.
ENGLISH 11

Related product manuals