EasyManua.ls Logo

AEG L8FE96ES - Page 23

AEG L8FE96ES
40 pages
Print Icon
To Next Page IconTo Next Page
To Next Page IconTo Next Page
To Previous Page IconTo Previous Page
To Previous Page IconTo Previous Page
Loading...
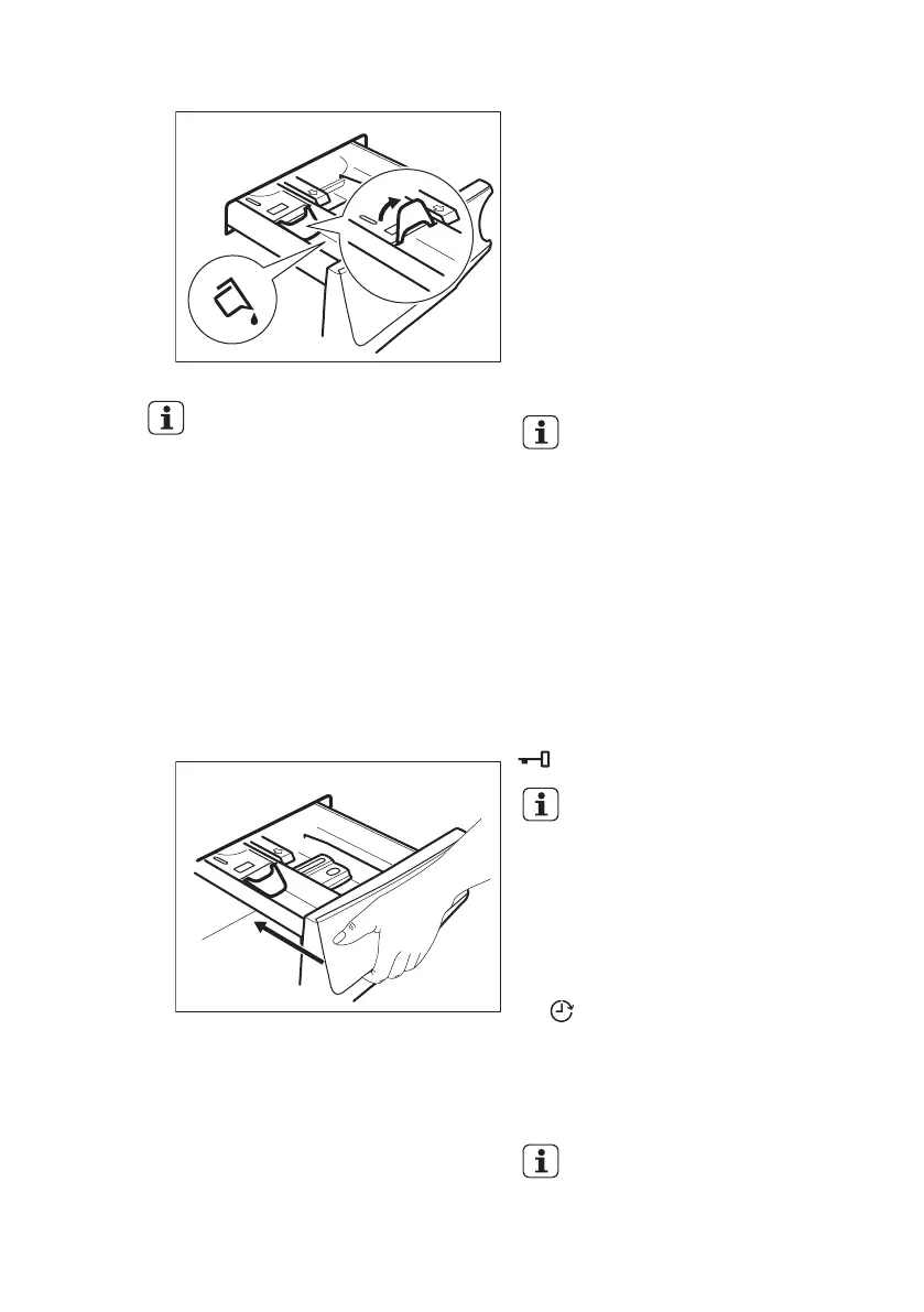
4. To use liquid detergent, turn the flap
down.
With the flap in the
position DOWN:
Do not use
gelatinous or thick
liquid detergents.
Do not put more
liquid detergent than
the limit shown on in
the flap.
Do not set the
prewash phase.
Do not set the delay
start function.
5. Measure out the detergent and the
fabric conditioner.
6. Carefully close the detergent
dispenser.
Make sure that the flap does not cause a
blockage when you close the drawer.
10.5 Setting a programme
1. Turn the programme dial to select
the desired washing programme. The
related programme indicator comes
on.
The indicator of the Start/Pauze button
flashes.
The display shows the maximum
declared load for the programme, the
default temperature, the maximum spin
speed, the washing phase indicators
(when available) and an indicative
programme duration.
2. To change the temperature and/or
the spin speed, touch the related
buttons.
3. If desired, set one or more options
by touching the related buttons. The
related indicators come on in the
display and the given information
changes accordingly.
In case a selection is not
possible, no indicator comes
on and an acoustic signal
sounds.
10.6 Starting a programme
Touch the Start/Pauze button to start the
programme.
The related indicator stops flashing and
stays on.
In the display, the indicator of the
operating phase starts flashing and the
maximum load indicator goes off.
The programme starts, the door is
locked. The display shows the indicator
.
The drain pump can operate
shortly before the appliance
fills water.
10.7 Starting a programme
with the delay start
1. Touch the Startuitstel button
repeatedly until the display shows
the desired delay time. The indicator
comes on.
2. Touch the Start/Pauze button.
The appliance starts the countdown of
the delay start.
When the countdown is completed, the
programme starts.
The PROSENSE estimation
starts at the end of the
countdown.
ENGLISH 23

Related product manuals