EasyManua.ls Logo

AEG L8FEE104S - Page 27

AEG L8FEE104S
48 pages
Print Icon
To Next Page IconTo Next Page
To Next Page IconTo Next Page
To Previous Page IconTo Previous Page
To Previous Page IconTo Previous Page
Loading...
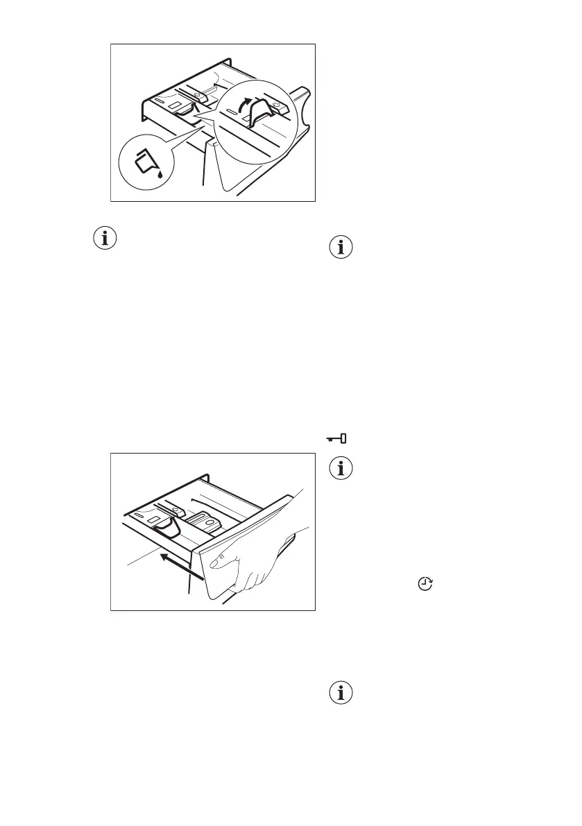
With the flap in the
position DOWN:
Do not use gelatinous
or thick liquid
detergents.
Do not put more
liquid detergent than
the limit shown on the
flap.
Do not set the
prewash phase.
Do not set the delay
start function.
5. Measure out the detergent and the
fabric conditioner.
6. Carefully close the detergent
dispenser.
Make sure that the flap does not cause a
blockage when you close the drawer.
12.5 Setting a programme
1. Turn the programme dial to select the
desired washing programme. The
related programme indicator comes
on.
The indicator of the Start/Pauze - Départ/
Pause button flashes.
The display shows the maximum
declared load for the programme, the
default temperature, the default spin
speed, the washing phase indicators
(when available) and an indicative
programme duration.
2. To change the temperature and/or
the spin speed, touch the related
buttons.
3. If desired, set one or more options by
touching the related buttons. The
related indicators come on in the
display and the given information
changes accordingly.
In case a selection is not
possible, no indicator
comes on and an acoustic
signal sounds.
12.6 Starting a programme
Touch the Start/Pauze - Départ/Pause
button to start the programme.
The related indicator stops flashing and
stays on.
In the display, the indicator of the
operating phase starts flashing.
The programme starts, the door is
locked. The display shows the indicator
.
The drain pump can operate
shortly before the appliance
fills water.
12.7 Starting a programme
with the delay start
1. Touch this repeatedly until the
display shows the desired delay time.
The indicator comes on.
2. Touch the Start/Pauze - Départ/
Pause button.
The appliance starts the countdown of
the delay start.
When the countdown is completed, the
programme starts.
The ProSense estimation
starts at the end of the
countdown.
ENGLISH 27

Related product manuals