EasyManua.ls Logo

AEG Lavage - 5. Système dalimentation en eau

AEG Lavage
46 pages
Print Icon
To Next Page IconTo Next Page
To Next Page IconTo Next Page
To Previous Page IconTo Previous Page
To Previous Page IconTo Previous Page
Loading...
- 20 -TSE-N A. S.
599 50 07-52/2
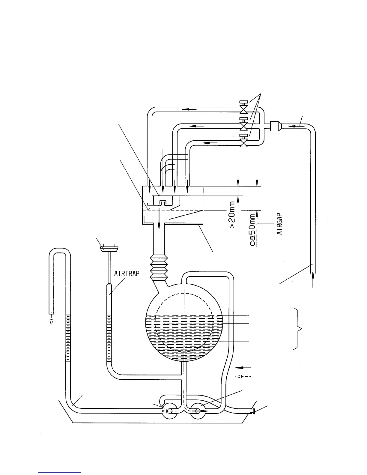
5. Système dalimentation en eau
5.1 Distributeur deau + vanne
- 4 compartiments à détergent; pompe de circulation et pompe de vidange.
- Distributeur deau à quatre voies, mouvement mécanique.
- Vannes à trois voies.
Taches
TROP-PLEIN ADOUCISSANT
NIVEAU DEAU CRITIQUE
TUYAU ÉVACUATION
COMMUTATEUR NIVEAU DEAU
Adoucissant
POMPE DÉVACUATION
Taches
Prélavage
Lavage
VANNE À TROIS VOIES
DISTRIBUTEUR DÉTERGENT
Laine
Niveau haut
Niveau normal
NIVEAUX DEAU
OPÉRATIONNELS
ARRIVÉE DEAU
VIDANGE DEAU
POMPE DE RECIRCULATION
TUYAU DE VIDANGE
TUYAU DARRIVÉE
EAU FROIDE

Related product manuals