EasyManua.ls Logo

AEG LFR73864BE - Page 27

AEG LFR73864BE
48 pages
Print Icon
To Next Page IconTo Next Page
To Next Page IconTo Next Page
To Previous Page IconTo Previous Page
To Previous Page IconTo Previous Page
Loading...
With the flap in the
position DOWN:
Do not use gelatinous
or thick liquid
detergents.
Do not put more
liquid detergent than
the limit shown on the
flap.
Do not set the
prewash phase.
Do not set the delay
start function.
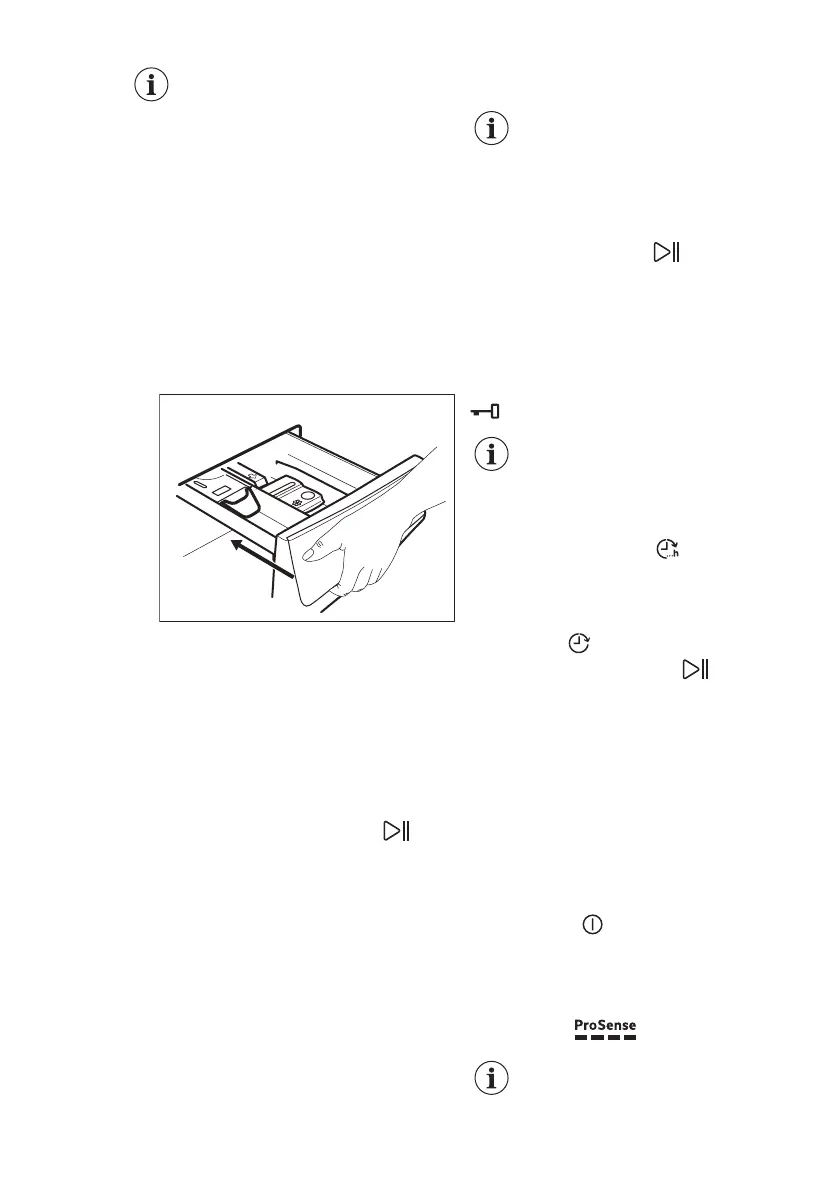
5. Measure out the detergent and the
fabric conditioner.
6. Carefully close the detergent
dispenser.
Make sure that the flap does not cause a
blockage when you close the drawer.
11.5 Setting a programme
1. Turn the programme dial to select the
desired washing programme. The
related programme indicator comes
on.
The indicator of the Start / Pause
button flashes.
The display shows an indicative
programme duration, the maximum
declared load for the set programme
(only for a few seconds), the default
temperature, the default spin speed and
the washing phase indicators (when
available).
2. To change the temperature and/or
the spin speed, touch the related
buttons.
3. If desired, set one or more options by
touching the related buttons. The
related indicators come on in the
display and the given information
changes accordingly.
In case a selection is not
possible, no indicator
comes on and an acoustic
signal sounds.
11.6 Starting a programme
Touch the Start / Pause button to
start the programme.
The related indicator stops flashing and
stays on.
In the display, the indicator of the
operating phase starts flashing.
The programme starts, the door is
locked. The display shows the indicator
.
The drain pump can operate
shortly before the appliance
fills water.
11.7 Starting a programme
with the Finish In
option
1. Touch this repeatedly until the
display shows the desired time within
the programme should end. The
indicator
comes on.
2. Touch the Start / Pause
button.
The drum starts rotating to perform
the ProSense estimation, if foreseen
in the selected programme.
3. The appliance starts the countdown
to the end of the programme and the
programme will start at the right
moment for ending at the time set
through this option.
To change or cancel this
option:
1. Switch the appliance off by means of
the On/Off
button.
2. Switch the appliance on again.
3. Set the programme again.
11.8 The ProSense load
detection
The programme duration in
the display is referred to a
medium/high load.
ENGLISH 27

Related product manuals