EasyManua.ls Logo

AEG LP7450 - Setting a programme; Starting a programme; Starting a programme with the delay start

AEG LP7450
76 pages
Print Icon
To Next Page IconTo Next Page
To Next Page IconTo Next Page
To Previous Page IconTo Previous Page
To Previous Page IconTo Previous Page
Loading...
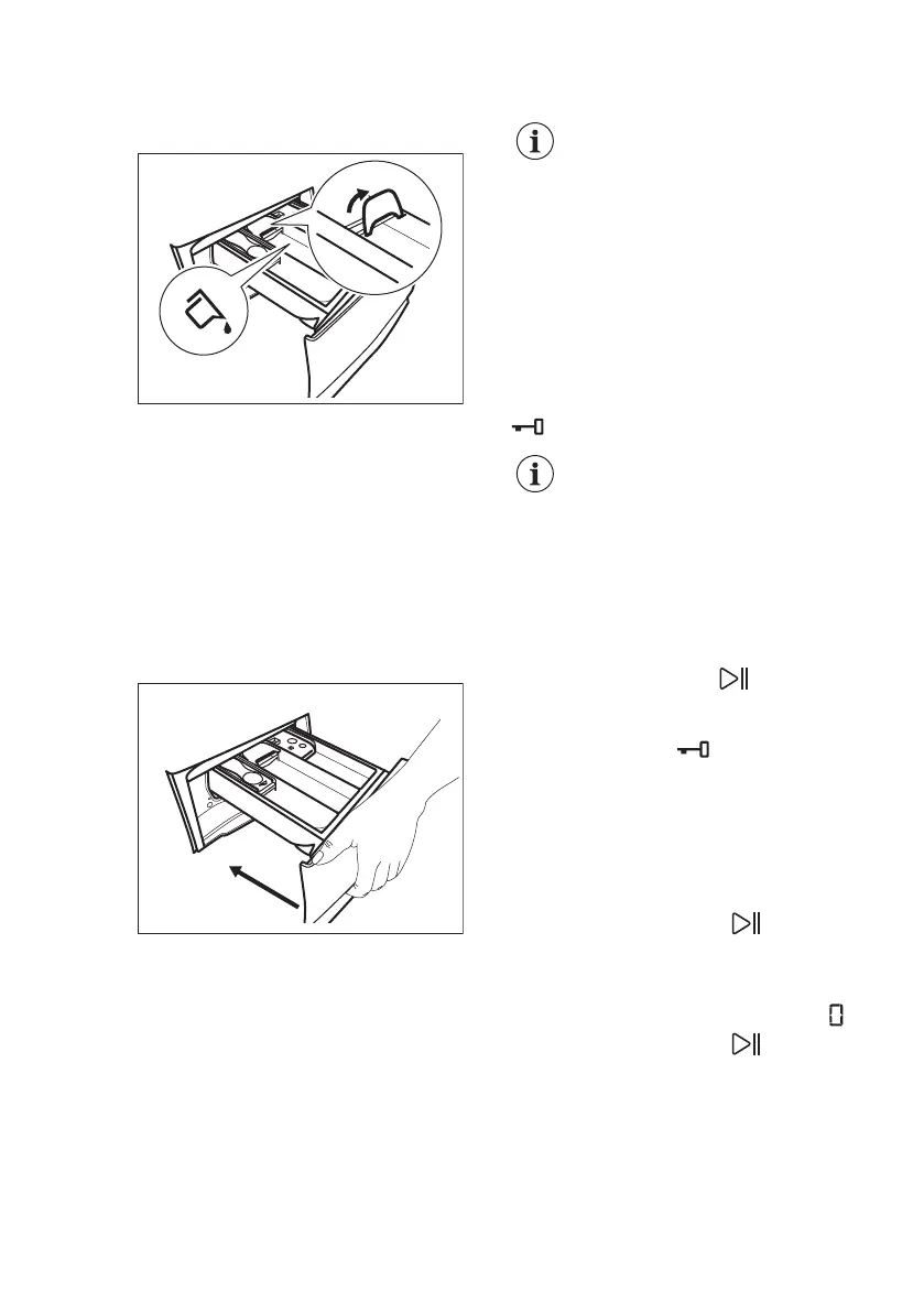
3. To use powder detergent, turn the
flap up.
4. To use liquid detergent, turn the flap
down.
With the flap in the position DOWN:
Do not use gelatinous or thick
liquid detergents.
Do not exceed to liquid
detergent dose indicated on the
flap.
Do not set the prewash phase.
Do not set the delay start
function.
5. Measure out the detergent and the
fabric conditioner.
6. Carefully close the detergent
dispenser.
Make sure that the flap does not cause a
blockage when you close the drawer.
11.5 Setting a programme
1. Turn the programme dial to select
the desired washing programme.
The indicator of the Start/Pause button
flashes.
The display shows an indicative
programme duration.
2. To change the temperature and/or
the spin speed, touch the related
buttons.
3.
If desired, set one or more options
by touching the related buttons.
If a selection is not possible
an acoustic signal sounds.
11.6 Starting a programme
Touch the Start/Pause button to start the
programme. It is not possible to start the
programme when the indicator of the
button is off and doesn't flash (e.g.
programme dial on a wrong position).
The related indicator stops flashing and
stays on.
The programme starts, the door is
locked. The display shows the indicator
.
The drain pump can operate
shortly before the appliance
fills water.
11.7 Starting a programme
with the delay start
1. Touch the Delay Start button until the
display shows the desired delay time.
The related indicator comes on.
2. Touch the Start/Pause button. The
appliance door locks and starts the
countdown of the delay start. The display
shows the indicator
.
When the countdown is completed, the
programme starts automatically.
Cancelling the delay start after
the countdown has started
To cancel the delay start:
1. Touch the Start/Pause button to
pause the appliance. The related
indicator flashes.
2. Touch the Delay Start button
repeatedly until the display shows
.
3. Touch the Start/Pause button
again to start the programme
immediately.
Changing the delay start after
the countdown has started
To change the delay start:
www.aeg.com
20

Related product manuals