EasyManua.ls Logo

AEG LR7E75400 - Configuring Appliance Wireless Connection; Remote Start Functionality

AEG LR7E75400
52 pages
Print Icon
To Next Page IconTo Next Page
To Next Page IconTo Next Page
To Previous Page IconTo Previous Page
To Previous Page IconTo Previous Page
Loading...
11.3 Configuring the
appliance wireless
connection
1. Press the Ein/Aus button for a few
seconds to activate the appliance.
Wait about 10 seconds before
proceeding with wireless
configuration.
2. Select a programme by turning the
programme dial.
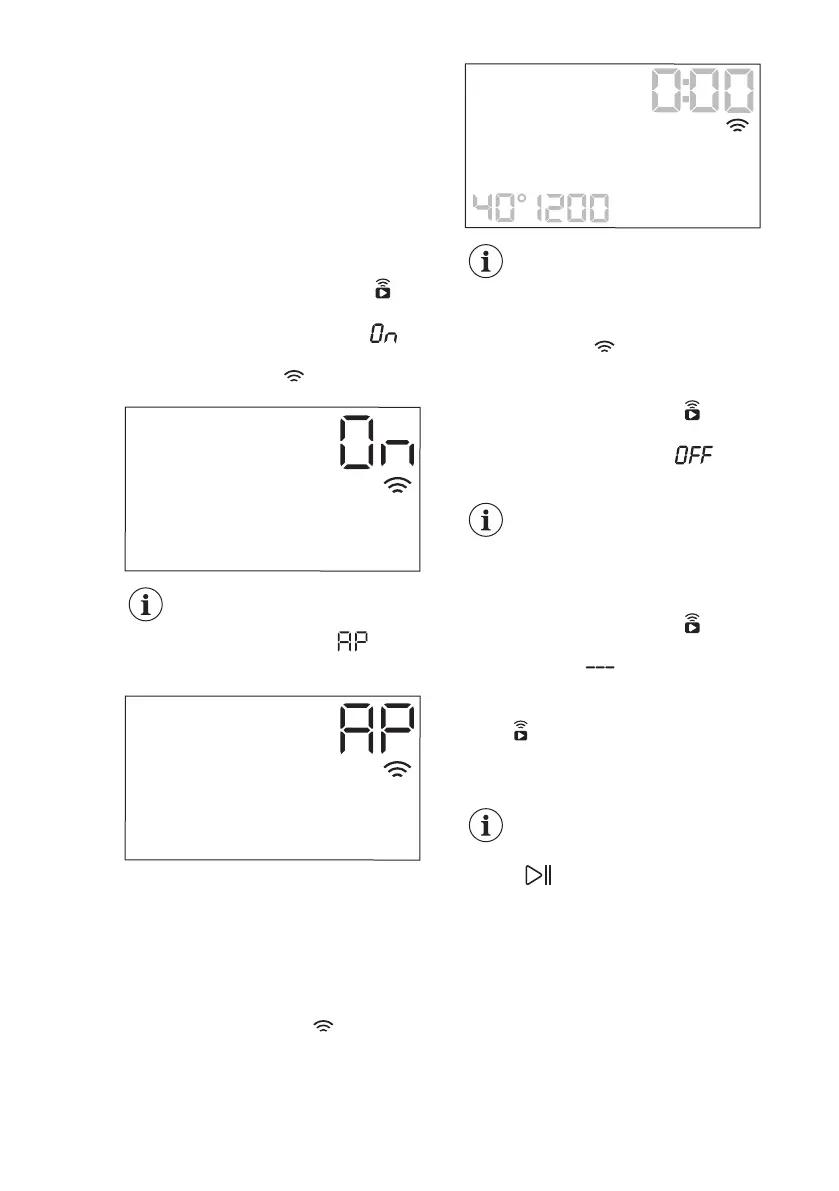
3. Press and hold the Fernstart
button for a few seconds until a 'click'
sounds. Release the button.
appears on the display for 5 seconds
and the indicator starts blinking.
The wireless module begins starting up.
Make sure that you APP is
ready for connection.
4. After about 10 seconds,
(Access Point) appears on the
display.
The access point will be open for about 3
minutes.
5. Configure the My AEG Care app on
your smart device and follow the
instructions to connect the appliance
to your Wi-Fi network.
6. If the connectivity is configured, when
the programme information screen
returns, the indicator is on the
display.
Every time you switch the
appliance on, the appliance
takes about 10 seconds to
connect to the network
automatically. When the
indicator stops blinking
the connection is ready.
To switch the wireless connection off,
press and hold the Fernstart button
for a few seconds until the first acoustic
signal. Release the button.
appears on the display for 5 seconds.
If you switch the appliance
off and on again, the
wireless connection is
automatically off.
To remove the wireless credentials,
press and hold the Fernstart button
for a few seconds until the second
acoustic signal: appears on the
display for a few seconds.
11.4 Remote Start
The Remote Start enables you to start a
cycle in remote control.
The Remote Control
activates automatically when
you press the Start/Pause
button to start the
programme, but it is also
possible to start a washing
programme remotely. This
function is deactivated when
door is open.
When the App is installed and the
wireless connection is complete, you can
activate the Remote Start:
www.aeg.com28

Related product manuals