EasyManua.ls Logo

AEG S41540TSW2 - Page 65

AEG S41540TSW2
72 pages
Print Icon
To Next Page IconTo Next Page
To Next Page IconTo Next Page
To Previous Page IconTo Previous Page
To Previous Page IconTo Previous Page
Loading...
temperatura ambiente corrisponda alla
classe climatica indicata sulla targhetta
dei dati del modello:
Classe
climati-
ca
Temperatura ambiente
SN da +10°C a +32°C
N da +16°C a +32°C
ST da +16°C a +38°C
T da +16°C a +43°C
In alcuni modelli potrebbero
verificarsi delle anomalie se
non si rispettano le
temperature indicate. Il
corretto funzionamento può
essere garantito solo nel
rispetto delle temperature
indicate. In caso di dubbi sul
luogo di installazione
dell'apparecchiatura,
contattare il venditore, il
nostro Centro di Assistenza
o il rivenditore più vicino
9.2 Livellamento
L'apparecchiatura deve trovarsi
perfettamente in piano. Per correggere
gli eventuali dislivelli è possibile regolare
in altezza i due piedini anteriori.
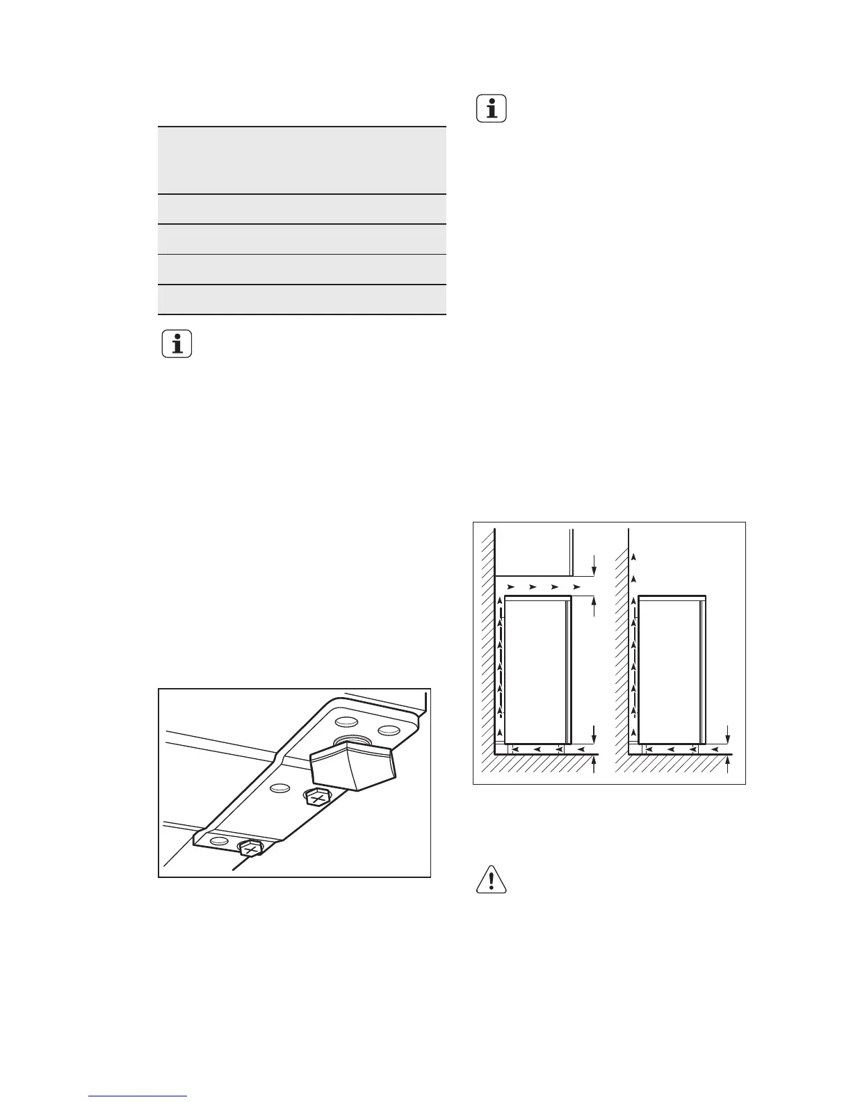
9.3 Ubicazione
L'apparecchiatura deve
poter essere scollegabile
dalla presa di corrente;
pertanto, al termine
dell'installazione, la spina
deve essere facilmente
accessibile.
L'apparecchiatura deve essere installata
lontano da fonti di calore come per
esempio termosifoni, boiler, luce solare
diretta, ecc. Verificare che sul lato
posteriore sia garantita un'adeguata
circolazione dell'aria. Per ottenere
prestazioni ottimali, se l'apparecchiatura
è installata sotto un pensile, si
raccomanda di mantenere una distanza
minima di 100 mm tra quest'ultimo e lo
spigolo superiore dell'apparecchiatura.
Se possibile, tuttavia, evitare di installare
l'apparecchiatura sotto un pensile. Per
consentire un perfetto livellamento
dell'apparecchiatura sono disponibili uno
o più piedini regolabili.
100 mm
15 mm 15 mm
9.4 Possibilità di invertire la
porta
ATTENZIONE!
Prima di eseguire le
operazioni descritte, estrarre
la spina dalla presa di
corrente.
ITALIANO 65

Related product manuals