EasyManua.ls Logo

AEG S53630CSX2 - Page 16

AEG S53630CSX2
Print Icon
To Next Page IconTo Next Page
To Next Page IconTo Next Page
To Previous Page IconTo Previous Page
To Previous Page IconTo Previous Page
Loading...
apparaat echter beter niet onder een
wandkast zetten. De afstelbare voetjes
aan de onderkant van het apparaat
garanderen een nauwkeurig horizontale
uitlijning.
A
B
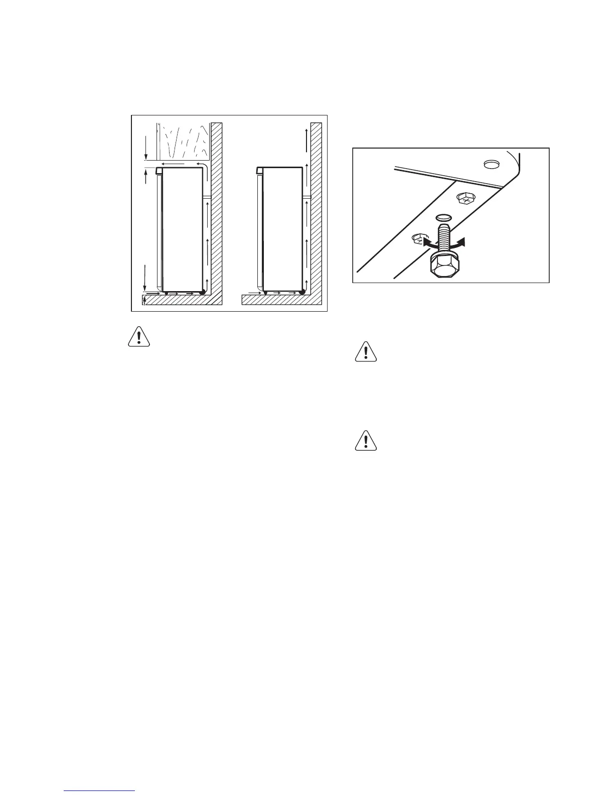
100 mm
min
20 mm
LET OP!
Om een goede werking te
garanderen bij
omgevingstemperaturen van
meer dan 38°C raden we aan
om een afstand van 30 mm
rond de zijkanten van het
apparaat te handhaven.
9.3 Aansluiting op het
elektriciteitsnet
Zorg er vóór het aansluiten voor dat
het voltage en de frequentie op het
typeplaatje overeenkomen met de
stroomtoevoer in uw huis.
Dit apparaat moet worden
aangesloten op een geaard
stopcontact. De netsnoerstekker is
voorzien van een contact voor dit
doel Als het stopcontact niet geaard
is, sluit het apparaat dan aan op een
afzonderlijk aardepunt, in
overeenstemming met de geldende
regels, raadpleeg hiervoor een
gekwalificeerd elektricien
De fabrikant kan niet aansprakelijk
gesteld worden als bovenstaande
veiligheidsvoorschriften niet
opgevolgd worden.
Dit apparaat voldoet aan de EU-
richtlijnen.
9.4 Nivellering
Zorg ervoor dat het apparaat waterpas
staat wanneer u het plaatst. Deze stand
kan bereikt worden met de twee
afstelbare voetjes die aan de voorkant en
onderkant van het apparaat bevestigd
zijn.
9.5 Omkeerbaarheid van de
deur
WAARSCHUWING!
Voordat werkzaamheden
worden uitgevoerd, moet u
zich ervan verzekeren dat de
stekker uit het stopcontact is
getrokken.
LET OP!
Om de volgende
handelingen uit te voeren,
raden we aan dit te doen
met de hulp van iemand
anders die de deuren van
het apparaat tijdens de
werkzaamheden stevig
vasthoudt.
1. Open de deur en verwijder de
legplanken.
2. Draai de schroeven van het bovenste
scharnier (1) los.
www.aeg.com
16

Related product manuals