EasyManua.ls Logo

AEG SpinView - Page 111

AEG SpinView
128 pages
Print Icon
To Next Page IconTo Next Page
To Next Page IconTo Next Page
To Previous Page IconTo Previous Page
To Previous Page IconTo Previous Page
Loading...
ÎHŀHOLWHSROLFRSUHVWDYLWLSRGVWDYLWH
URNRSRGQMHQ]DGQMLGHOLQMRSRWLVQLWH
QDY]JRUGDVSURVWLWH]DSRQNLQDWRMR
SRYOHFLWHL]KODGLOQLND
32=25
3ODGQMDQHSRVWDYOMDMWHQD
QDMYLģMLQLYRNHUODKNRŀLYLOD
VKUDQMHQDQDQMHP]DGHQHMR
SULSUDYR9HQWLODWRUDOL
XSUDYOMDOQRSORģÏRLQVH
SUHYUQHMR
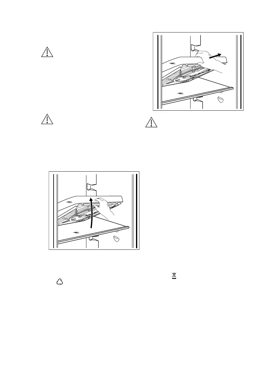
2GVWUDQMHYDQMHSODGQMD
6SLQ9LHZ
p
32=25
2SUHPRRÏLVWLWH]YODŀQR
PHKNRNUSR0OHÏQLL]GHONL
ODKNRSXVWLMRPDGHŀH
ÎHŀHOLWHWDSODVWLÏHQSODGHQMRÏLVWLWLJD
ODKNRRGVWUDQLWHVVWHNOHQHSROLFH
=DRGVWUDQLWHYSODGQMD
 'YLJQLWHVSUHGQMLGHOSODGQMD
 3ODGHQMSRYOHFLWHYSULND]DQLVPHUL
GDJDVQDPHWH]]DSRQN
32=25
1HUD]VWDYOMDMWHSODGQMD
6SLQ9LHZ
p
3ODGQMD
6SLQ9LHZ
p
QHSRPLYDMWHY
SRPLYDOQHPVWURMX
6.5%=$2.2/-(
5HFLNOLUDMWHPDWHULDOHNLMLKR]QDÏXMH
VLPERO
(PEDODŀRRGORŀLWHYXVWUH]QH
]DERMQLNH]DUHFLNODŀR3RPDJDMWH
]DģÏLWLWLRNROMHLQ]GUDYMHOMXGLWHU
UHFLNOLUDWLRGSDGNHHOHNWULÏQLKLQ
HOHNWURQVNLKQDSUDY1DSUDYR]QDÏHQLK
VVLPERORP
QHRGVWUDQMXMWH]
JRVSRGLQMVNLPLRGSDGNL,]GHOHNYUQLWHQD
NUDMHYQR]ELUDOLģÏH]DUHFLNOLUDQMHDOLVH
REUQLWHQDREÏLQVNLXUDG
6/29(1ơÎ,1$ 