EasyManua.ls Logo

AEG T8DBE48S - Page 16

AEG T8DBE48S
32 pages
Print Icon
To Next Page IconTo Next Page
To Next Page IconTo Next Page
To Previous Page IconTo Previous Page
To Previous Page IconTo Previous Page
Loading...
To activate or deactivate an option touch
the relevant button or a two button
combination.
its symbol appears on the display or the
led above the corresponding button
lights up.
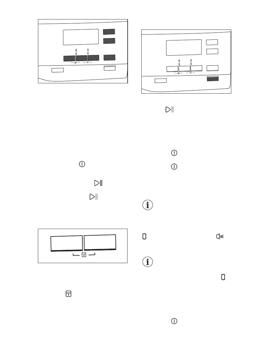
8.7 Child lock option
The child lock can be set to prevent
children from playing with the appliance.
The child lock option locks all touch
buttons and the program dial (this option
does not lock the On/Off button).
You can activate the child lock option:
before you touch the
Start/Pause
button - the appliance cannot start
after you touch the
Start/Pause
button - programs and option
selection is unavailable.
Child lock option activation:
1. Turn the dryer on.
2. Select 1 of the available programs.
3. Touch and hold down 2 buttons at
the same time.
The symbol appears on the display.
4. To deactivate the child lock, touch
the above buttons again until the
symbol disappears.
8.8 Starting a program
To start the program:
Touch the Start/Pause button.
The appliance starts and the LED above
the button stops flashing and stays on.
8.9 Program change
To change a program:
1.
Push the On/Off button to turn
the appliance off.
2.
Push the On/Off button again to
turn on the appliance.
3. Set a new program.
8.10 Programme end
Clean the filter and drain the
water container after each
drying cycle. (See chapter
CARE AND CLEANING.)
If the drying cycle is finished, the symbol
appears on the display. If the
Buzzer option is activated, the acoustic
signal sounds intermittently for 1 minute.
If you do not turn off the
appliance, the anti-crease
phase starts (not active with
all programmes). Flashing
symbol signals the execution
of the anti-crease phase.
Laundry can be removed
during this phase.
To remove the laundry:
1. Push the On/Off button for 2
seconds to turn the appliance off.
2. Open the appliance door.
www.aeg.com
16

Related product manuals