EasyManua.ls Logo

AGame 166049 - Page 7

Default Icon
14 pages
Print Icon
To Next Page IconTo Next Page
To Next Page IconTo Next Page
To Previous Page IconTo Previous Page
To Previous Page IconTo Previous Page
Loading...
7
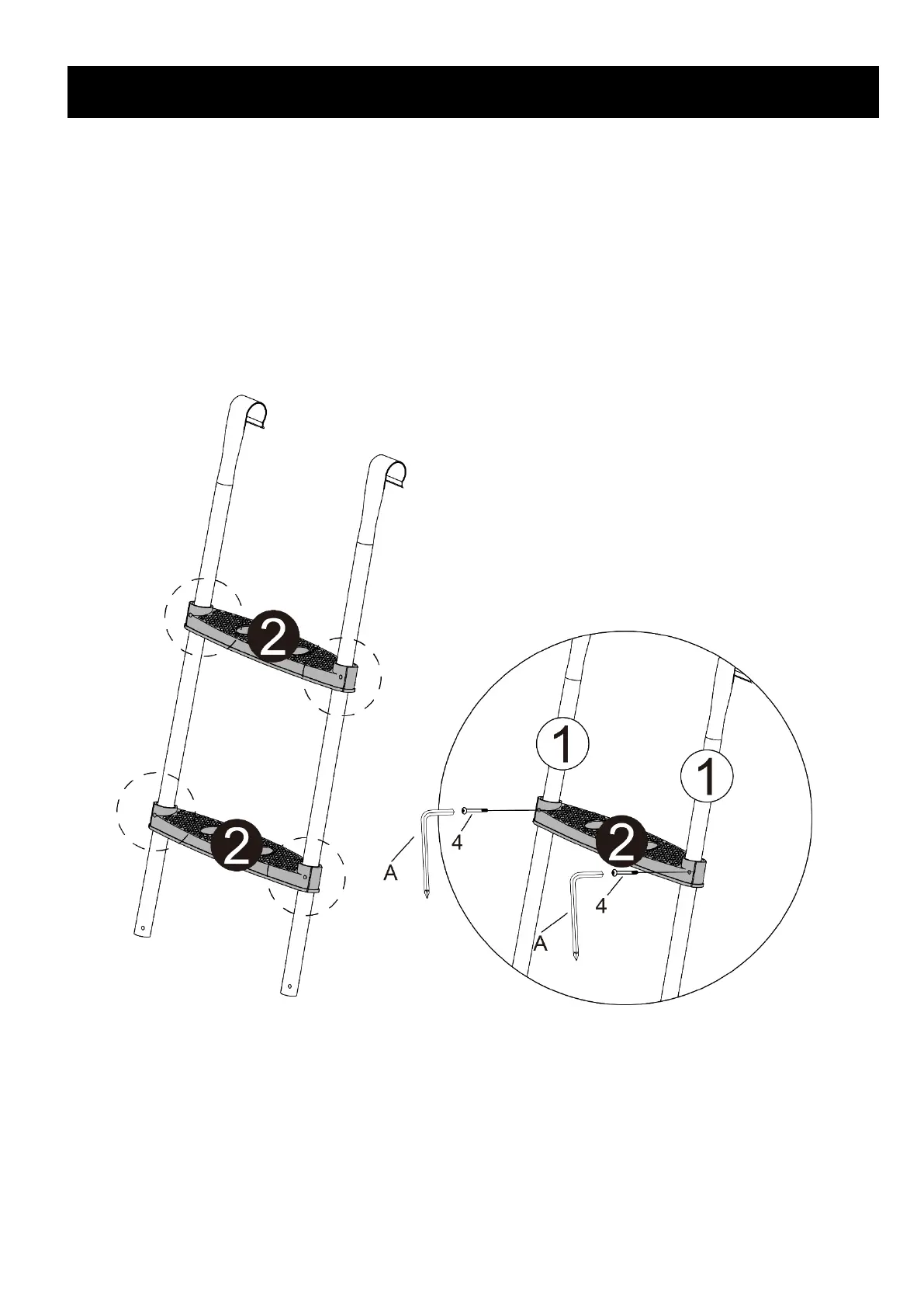
STEP 2
Insert Bolts (#4) through the ladder steps and frame leg tubes.
Securely fasten the bolts using Allen Wrench (# A) as shown.
Assembly Instructions For Ladder

Related product manuals