EasyManua.ls Logo

AIRFORCE 80 - Page 8

AIRFORCE 80
15 pages
Print Icon
To Next Page IconTo Next Page
To Next Page IconTo Next Page
To Previous Page IconTo Previous Page
To Previous Page IconTo Previous Page
Loading...
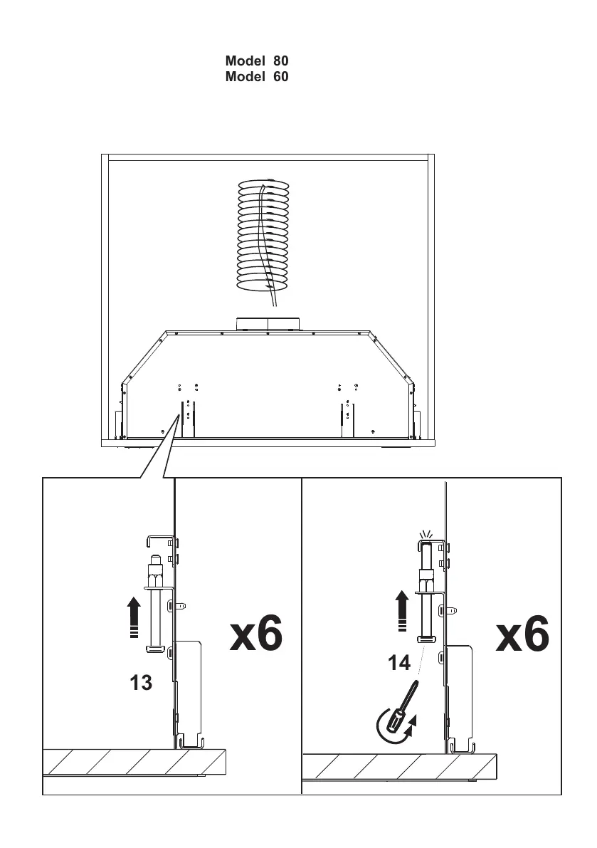
Model 80
Model 60
13
14
x6
x6

Related product manuals