EasyManua.ls Logo

Akai AT-K22/L

Akai AT-K22/L
80 pages
To Next Page IconTo Next Page
To Next Page IconTo Next Page
To Previous Page IconTo Previous Page
To Previous Page IconTo Previous Page
Loading...
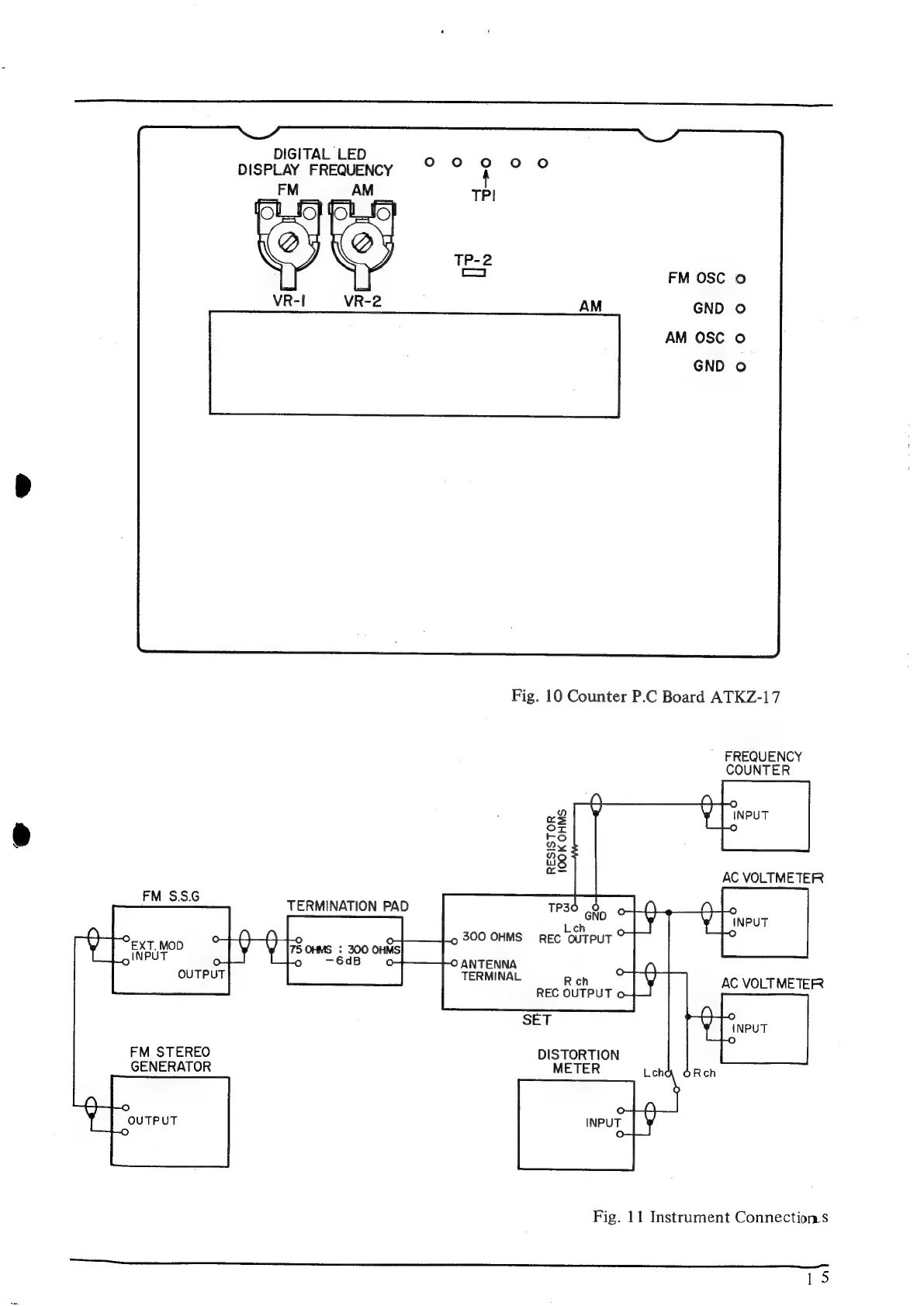
DIGITAL
LED
DISPLAY
FREQUENCY
°
9
9
O
FM
OSC
o
GND
o
AM
OSC
0
GND
o
Fig.
10
Counter
P.C
Board
ATKZ-17
FREQUENCY
COUNTER
RESISTOR
{00
K
OHMS
TERMINATION
PAD
‘a
©
©
[701s
:
300
0m]
|
O
ANTENNA
TERMINAL
Rh
|
AC
VOLTMETERR
FM
STEREO
GENERATOR
Fig.
11
Instrument
Connections
15

Other manuals for Akai AT-K22/L

Related product manuals