EasyManua.ls Logo

Allsource 42000 - Assembly - Step 10

Allsource 42000
31 pages
Print Icon
To Next Page IconTo Next Page
To Next Page IconTo Next Page
To Previous Page IconTo Previous Page
To Previous Page IconTo Previous Page
Loading...
13
42000
Operating Instructions and Parts Manual
High Pressure Abrasive Blast Cabinet
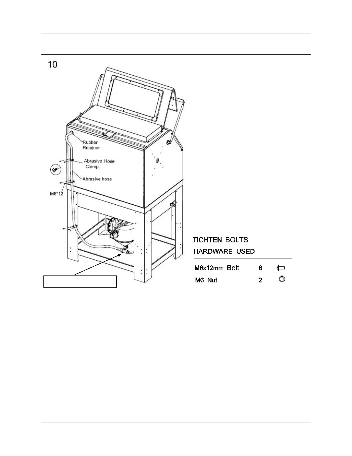
#4 Abrasive tee joint
1: Open the door, Insert abrasive hose through rubber retainer , adjust the
abrasive hose ,avoid sharp bends to help prevent excessive wearing of the
abrasive hose , next secure the abrasive hose with hose clamp( use
M6X12mm bolts and M6 nut)
2: Assemble abrasive hose and #4 abrasive tee joint, seal thread with Teflon
tape.