EasyManua.ls Logo

Alpine INE-W720D - Page 33

Alpine INE-W720D
148 pages
Print Icon
To Next Page IconTo Next Page
To Next Page IconTo Next Page
To Previous Page IconTo Previous Page
To Previous Page IconTo Previous Page
Loading...
15-DE
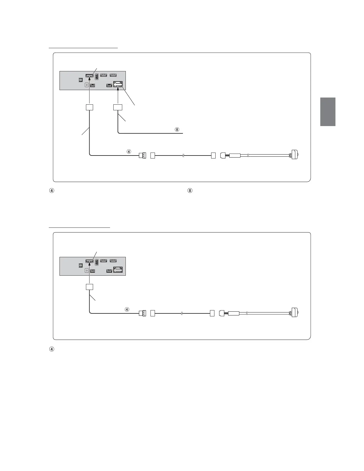
Anschluss einer Rückfahrkamera
Direkter CAMERA-Eingangsanschluss Rückfahrkabel (Orange/Weiß)
Setzen Sie Kameraauswahl auf „Hinten. Einzelheiten dazu finden Sie unter „Einstellen des Kameraeingangs“ in der BEDIENUNGSANLEITUNG
(CD-ROM).
Anschluss einer Frontkamera
Direkter CAMERA-Eingangsanschluss
Setzen Sie Kameraauswahl auf „Vorn. Einzelheiten dazu finden Sie unter „Einstellen des Kameraeingangs“ in der BEDIENUNGSANLEITUNG
(CD-ROM).
CAN I/F-Anschluss
Reverse
Schließen Sie das Kabel an den Pluspol des Rückfahrscheinwerfers
des Fahrzeugs an.
Kameraverlängerungskabel
(mit direkter Rückfahrkamera mitgeliefert)
Stromversorgungsanschluss
CAMERA
(Orange/Weiß)
HCE-C127D/HCE-C157D/HCE-C252RD
(separat erhältlich)
Stromversorgungskabel
CAN I/F-Kabel
CAN I/F-Anschluss
Kameraverlängerungskabel
(mit direkter Rückfahrkamera
mitgeliefert)
CAMERA
HCE-C257FD/HCE-C212FD
(separat erhältlich)
CAN I/F-Kabel

Table of Contents

Related product manuals