EasyManua.ls Logo

Alpine INE-W720D - Page 65

Alpine INE-W720D
148 pages
Print Icon
To Next Page IconTo Next Page
To Next Page IconTo Next Page
To Previous Page IconTo Previous Page
To Previous Page IconTo Previous Page
Loading...
15-ES
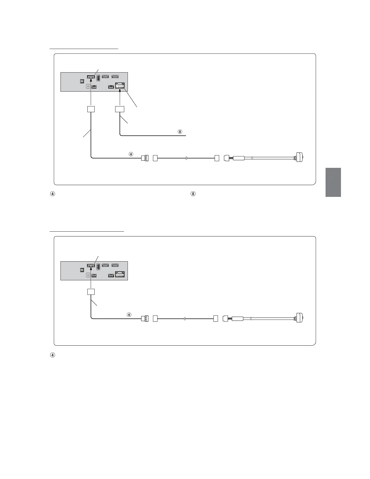
Conexión de una cámara trasera
Conector de entrada directo CAMERA Cable de la marcha atrás (Naranja/Blanco)
Elija “Trasero” en la selección de la cámara. Para obtener más información, consulte “Configuración de la entrada de Cámara” en el MANUAL DE
OPERACIÓN (CD-ROM).
Conexión de una cámara delantera
Conector de entrada directo CAMERA
Elija “Delantero” en la selección de la cámara. Para obtener más información, consulte “Configuración de la entrada de Cámara en el MANUAL DE
OPERACIÓN (CD-ROM).
Conector CAN I/F
Reverse
Conéctelo al polo positivo de la luz de marcha atrás del coche.
Prolongador de cámara
(incluido en la cámara trasera directa)
Conector de alimentación de energía
CAMERA
(Naranja/Blanco)
HCE-C127D/HCE-C157D/HCE-C252RD
(vendido por separado)
Cable de alimentación
Cable CAN I/F
Conector CAN I/F
Prolongador de cámara
(incluido en la cámara trasera directa)
CAMERA
HCE-C257FD/HCE-C212FD
(vendido por separado)
Cable CAN I/F

Table of Contents

Related product manuals