EasyManua.ls Logo

Alpine INE-W720D - Page 81

Alpine INE-W720D
148 pages
Print Icon
To Next Page IconTo Next Page
To Next Page IconTo Next Page
To Previous Page IconTo Previous Page
To Previous Page IconTo Previous Page
Loading...
15-IT
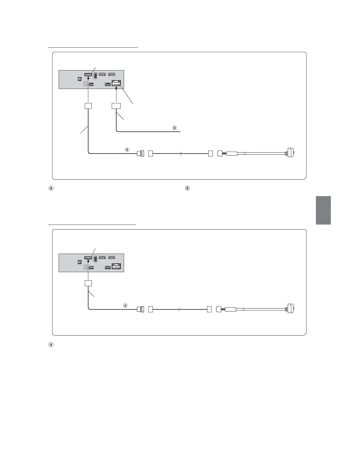
Collegamento di una telecamera posteriore
Connettore di ingresso CAMERA diretto Cavo della retromarcia (Arancione/Bianco)
Impostare la selezione della telecamera su “Posteriore”. Per i dettagli, fare riferimento al capitolo sulla “Impostazione dell’ingresso di Camera” nel
MANUALE D’USO (CD-ROM).
Collegamento di una telecamera anteriore
Connettore di ingresso CAMERA diretto
Impostare la selezione della telecamera su “Anteriore”. Per i dettagli, fare riferimento al capitolo sulla “Impostazione dell’ingresso di Camera” nel
MANUALE D’USO (CD-ROM).
Connettore CAN I/F
Reverse
Collegare alla parte positiva del proiettore della retromarcia della vettura.
Prolunga della telecamera
(in dotazione con la telecamera posteriore
diretta)
Connettore alimentazione
CAMERA
(Arancione/Bianco)
HCE-C127D/HCE-C157D/HCE-C252RD
(venduto separatamente)
Cavo di alimentazione
Cavo CAN I/F
Connettore CAN I/F
Prolunga della telecamera
(in dotazione con la telecamera
posteriore diretta)
CAMERA
HCE-C257FD/HCE-C212FD
(venduto separatamente)
Cavo CAN I/F

Table of Contents

Related product manuals