EasyManua.ls Logo

Alpine INE-W720D - Page 97

Alpine INE-W720D
148 pages
Print Icon
To Next Page IconTo Next Page
To Next Page IconTo Next Page
To Previous Page IconTo Previous Page
To Previous Page IconTo Previous Page
Loading...
15-SE
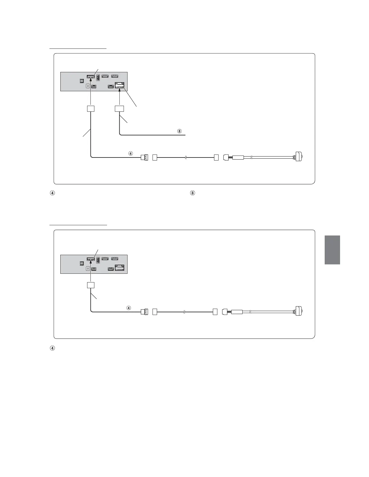
Anslutning av backkamera
Ingångsanslutning för direkt CAMERA Backkabel (Orange/Vit)
Ställ in kameraväljaren till ”Bak”. Se ”Ställa in kameraingången” i bruksanvisningen (CD-ROM) för ytterligare information.
Anslutning av frontkamera
Ingångsanslutning för direkt CAMERA
Ställ in kameraväljaren till ”Fram”. Se ”Ställa in kameraingången” i bruksanvisningen (CD-ROM) för ytterligare information.
Anslutning för CAN I/F
Reverse
Anslut till plussidan på bilens backlampa.
Förlängningskabel för kamera
(medföljer backkamera)
Anslutning för strömförsörjning
CAMERA
(Orange/Vit)
HCE-C127D/HCE-C157D/HCE-C252RD
(säljs separat)
Strömkabel
CAN I/F-kabel
Anslutning för CAN I/F
rlängningskabel för kamera
(medföljer backkamera)
CAMERA
HCE-C257FD/HCE-C212FD
(säljs separat)
CAN I/F-kabel

Table of Contents

Related product manuals