EasyManua.ls Logo

Alpine IVA-D511RB - Page 94

Alpine IVA-D511RB
95 pages
Print Icon
To Next Page IconTo Next Page
To Next Page IconTo Next Page
To Previous Page IconTo Previous Page
To Previous Page IconTo Previous Page
Loading...
92-EN
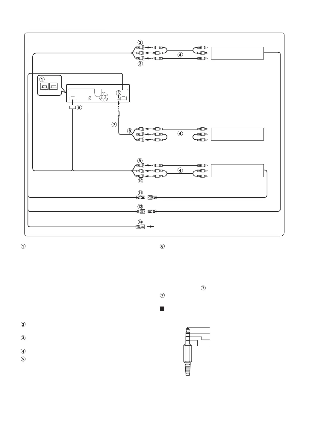
When Connecting External Equipment
System Switch
When connecting an equalizer or divider using Ai-NET
feature, place the two switches in the EQ/DIV position.
When no device is connected, leave the switch in the
NORM position.
Change both switches to the left to set to the NORM
position.
Change both switches to the right to set to the EQ/DIV
position.
(If the front panel is viewed from the front.)
Do not make the two switches to different settings.
Be sure to turn the power off to the unit before changing the switch
position.
Audio Output Connectors (AUX OUTPUT)
RED is right and WHITE is left output the audio.
Video Output Connector (AUX OUTPUT) (Yellow)
Output the video.
RCA Extension Cable (Sold separately)
AV Connector
iPod (V)/AUX Input Connector
Input the iPhone/video compatible iPod audio/video signal
or AUX video/audio signal.
Set “AUX2 IN” to “AUX” in “Setting the AUX Mode” (page 45)
when normal AUX video/audio is input.
When you use this connector as normal video/audio input connector
(AUX 2 Input), an optional AV/RCA interface cable should be used.
For details, refer to .
AV/RCA interface cable (4-pole mini AV plug to
3-RCA) (Sold Separately)
Usable 4-pole mini AV plug
Wiring convention of this system is as follows:
Configuration commercially available 4-pole mini AV plugs is not
unified.
Audio L (White)
Audio R (Red)
Ground
Video (Yellow)
To Audio Input terminal
To Video Input terminal
To Audio Output terminal
To Video Output terminal
Rear monitor
(Sold Separately)
TV Tuner or VCR
(Sold Separately)
(White/Brown) REMOTE OUT
REMOTE IN (White/Brown)
(White/Brown) REMOTE IN
REMOTE OUT (White/Brown)
(Orange/White) REVERSE
Use only when back-up camera is connected.
DVE-5207,etc.
(Sold Separately)
To Video Output terminal
To Audio Output terminal
NORM EQ/DIV

Table of Contents

Related product manuals