EasyManua.ls Logo

AmazonBasics B01KBEOAIW - Page 26

AmazonBasics B01KBEOAIW
44 pages
Print Icon
To Next Page IconTo Next Page
To Next Page IconTo Next Page
To Previous Page IconTo Previous Page
To Previous Page IconTo Previous Page
Loading...
26
22
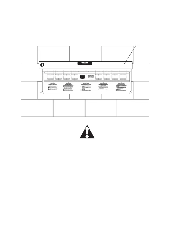
DO NOT DRILL INTO MORTAR JOINTS! DRILL HOLES AT LEAST 1" (25.4 MM) FROM THE JOINTS.
USE A NEW DRILL BIT TO ENSURE OPTIMUM HOLDING ABILITY. DO NOT USE A HAMMER DRILL!
NE PAS PERCER DANS LES JOINTS DE MORTIER ! PERCER LES TROUS À AU MOINS 25 MM
(1 PO) DES JOINTS. UTILISER UNE MÈCHE NEUVE POUR ASSURER UNE CAPACITÉ DE MAINTIEN
OPTIMALE. NE PAS UTILISER DE PERCEUSE À PERCUSSION !
NO PERFORE LAS JUNTAS DE ARGAMASA. TALADRE ORIFICIOS A UNA DISTANCIA DE, POR LO
MENOS, 1” (25,4 MM) DE LAS JUNTAS. USE UNA BROCA NUEVA PARA GARANTIZAR UNA
CAPACIDAD ÓPTIMA DE SUJECIÓN. NO USE UN TALADRO PERCUTOR.
NON TRAPANARE DIRETTAMENTE NEI GIUNTI DI MALTA! TRAPANARE AD UNA DISTANZA DI
ALMENO 25,4 MM DA QUESTI. UTILIZZARE UNA PUNTA DI TRAPANO NUOVA PER ASSICURARE LA
MIGLIORE CAPACITÀ DI OSTEGNO POSSIBILE. NON UTILIZZARE UN TRAPANO A PERCUSSIONE!
BITTE NICHT IN DEN FUGEN BOHREN! DIE BOHRUNGEN SIND MINDESTENS 25,4 MM VON DEN
FUGEN ENTFERNT VORZUNEHMEN. VERWENDEN SIE EINE NEUE BOHRERSPITZE, UM EINE
OPTIMALE HALTEKAPAZITÄT ZU GEWÄHRLEISTEN. BENUTZEN SIE KEINEN BOHRHAMMER!
НЕ СВЕРЛИТЕ ПО ШВУ! СВЕРЛИТЕ ОТВЕРСТИЯ НА РАССТОЯНИИ ПО КРАЙНЕЙ МЕРЕ 1"
(25.4 ММ) ОТ ШВОВ. ИСПОЛЬЗУЙТЕ НОВОЕ СВЕРЛО ДЛЯ ОБЕСПЕЧЕНИЯ ОПТИМАЛЬНОЙ
УДЕРЖИВАЮЩЕЙ СПОСОБНОСТИ. НЕЛЬЗЯ ИСПОЛЬЗОВАТЬ УДАРНУЮ ДРЕЛЬ!
(EN) Level
(FR) Niveau
(DE) Nivellierinstrument
(IT) Livella
(ES) Nivel
[IT]
(EN) Do not drill into mortar joints! Drill holes at least 1" (25.4 mm) from the joints.
Use a NEW drill bit to ensure optimum holding ability. Do not use a hammer drill!
(FR) Ne pas percer dans les joints de mortier ! Percer les trous à au moins 25 mm (1 po)
des joints. Utiliser une mèche NEUVE pour assurer une capacité de maintien optimale.
Ne pas utiliser de perceuse à percussion !
(DE) Bitte nicht in den Fugen bohren! Die Bohrungen sind mindestens 25,4 mm von den
Fugen entfernt vorzunehmen. Verwenden Sie eine NEUE Bohrerspitze, um eine optimale
Haltekapazität zu gewährleisten. Benutzen Sie keinen Bohrhammer!
(IT) Non trapanare direttamente nei giunti di malta! Trapanare ad una distanza di almeno
25,4 mm da questi. Utilizzare una punta di trapano NUOVA per assicurare la migliore
capacità di ostegno possibile. Non utilizzare un trapano a percussione!
(ES) No perfore las juntas de argamasa. Taladre oricios a una distancia de, por lo menos,
1" (25,4 mm) de las juntas. Use una broca NUEVA para garantizar una capacidad óptima
de sujeción. No use un taladro percutor.

Related product manuals