EasyManua.ls Logo

AmazonBasics B07PMK78R8 - Page 8

AmazonBasics B07PMK78R8
17 pages
Print Icon
To Next Page IconTo Next Page
To Next Page IconTo Next Page
To Previous Page IconTo Previous Page
To Previous Page IconTo Previous Page
Loading...
20
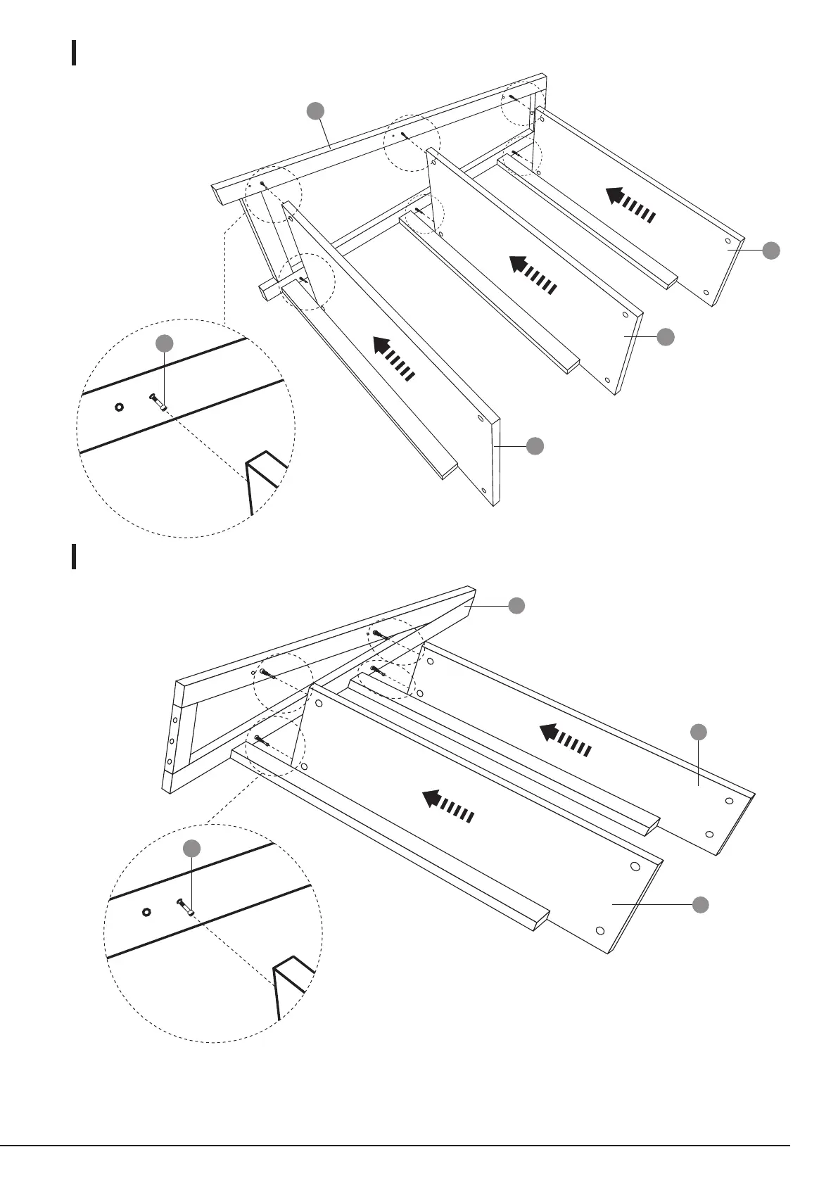
5:
F
G
H
B
O
6:
D
I
J
O