EasyManua.ls Logo

Aplus PlusIII-6KLRB - Page 8

Default Icon
46 pages
Print Icon
To Next Page IconTo Next Page
To Next Page IconTo Next Page
To Previous Page IconTo Previous Page
To Previous Page IconTo Previous Page
Loading...
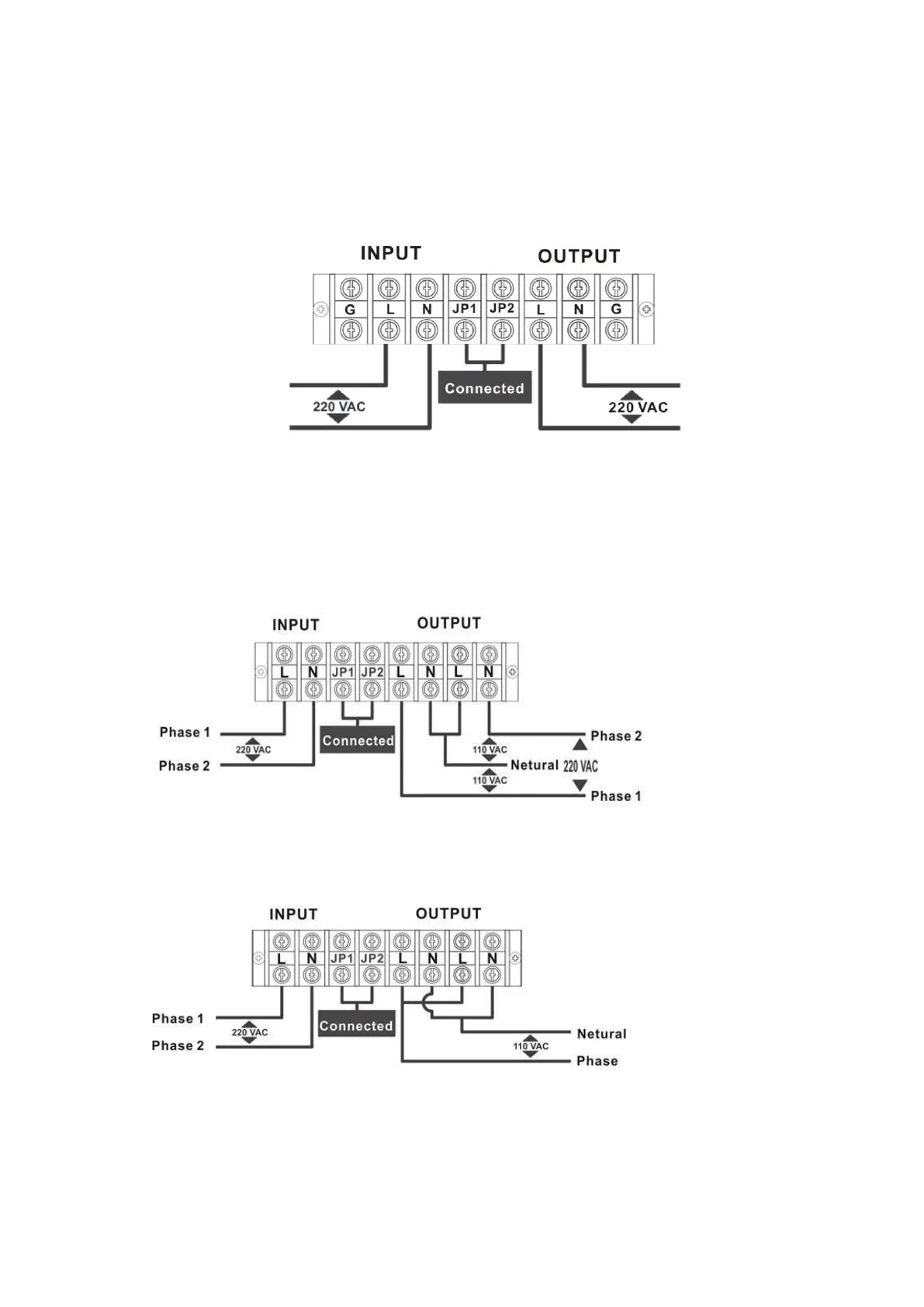
I) Input/Output: 1P2W+G 220V or 230V or 240V
II) Input: 1P2W+G 220V or 230V or 240V, Output: 1P3W+G 110/220V or 115/230V
or 120/240V, With Isolation Transformer
Connection for dual Output: 110/220V or 115/230V or 120/240V
Connection for single output 110V or 115V or 120V
Note: you must make sure that the input and output wires and the input and output
terminals are connected tightly.