EasyManua.ls Logo

Aqua Technopool pH-Rx - Page 6

Aqua Technopool pH-Rx
64 pages
Print Icon
To Next Page IconTo Next Page
To Next Page IconTo Next Page
To Previous Page IconTo Previous Page
To Previous Page IconTo Previous Page
Loading...
A-TECHNOPOOL PH-RX 28/06/2010 6/64
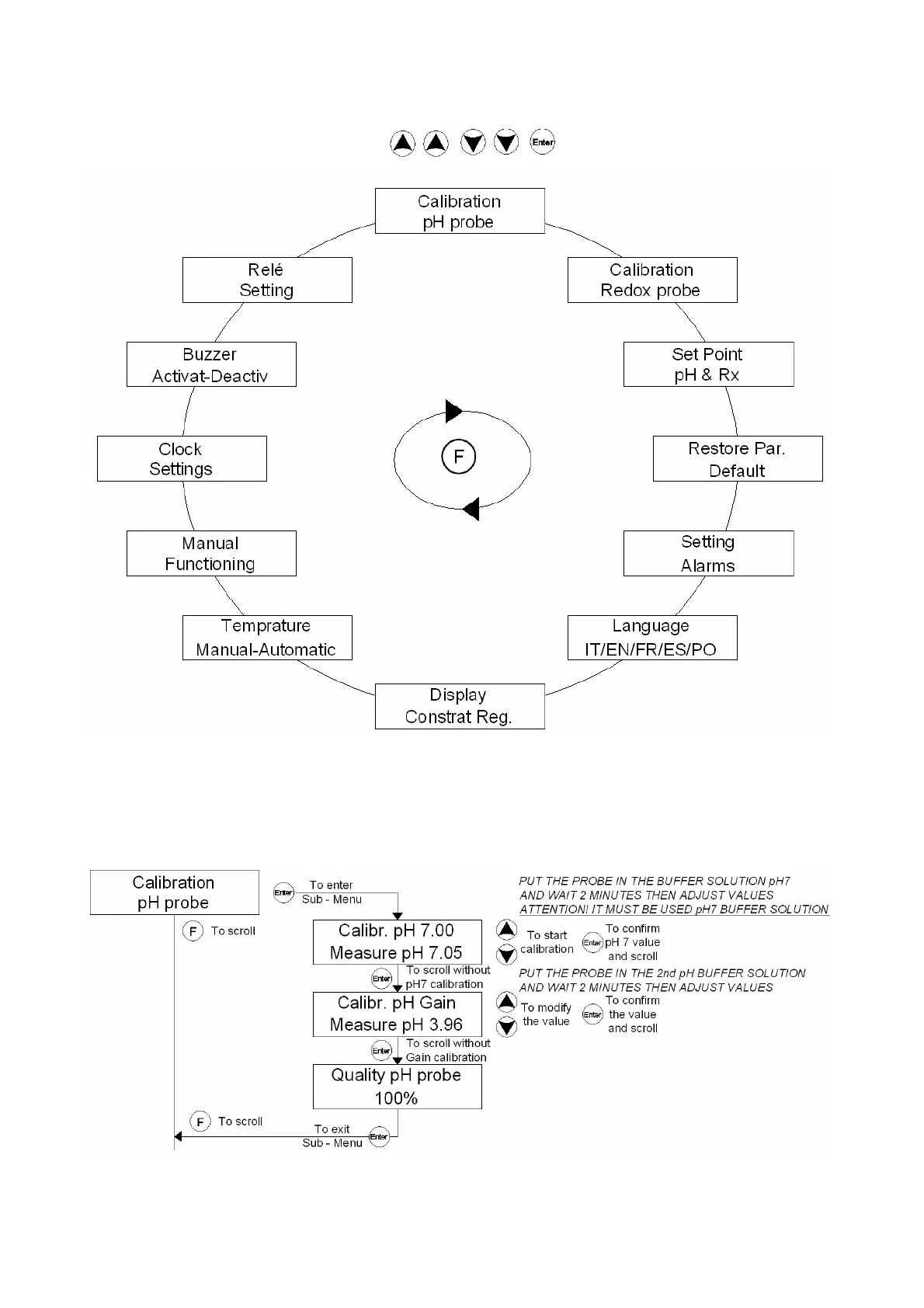
3.2 Installation Menu
Installation menu allows to set all the paramters of your Technopool.
To enter Installation menu keep pressed enter botton for more than 3 seconds (password
will be required, default password is ) )
The menu is divided into sub menu:
You can scroll the menu with F button, if you want to enter the sub-menu you must press
Enter.
To escape the Installation menu just keep pressed Enter botton for more than 3
seconds.
3.2.1 Calibration of pH probe
If the Quality of the probe is 25% or lower, make again the calibration. If the result is still
25% or lower it is recommended to change the probe.

Other manuals for Aqua Technopool pH-Rx