EasyManua.ls Logo

AQUARAY SmartControl 8 - Page 18

AQUARAY SmartControl 8
84 pages
Print Icon
To Next Page IconTo Next Page
To Next Page IconTo Next Page
To Previous Page IconTo Previous Page
To Previous Page IconTo Previous Page
Loading...
Pour utiliser le capteur de température, la sonde de température
doit être connectée au port COM sur contrôleur avant d’activer
l’alimentation. Dès que le capteur est branché et sous tension,
vous pouvez afficher la température en navigant dans le système
de menus ou en observant l’interface de l’ordinateur.
Master/Slave (Maître/Esclave)
Si vous souhaitez utiliser jusqu’à 4 appareils SmartControl 8
ensemble, il est possible de les raccorder en utilisant le câble de
connexion Master/Slave (Maître /Esclave) (disponible séparément,
non fourni). Ce câble se branche sur le port USB situé sur le
câble du capteur de température, vers le port COM de l’appareil
suivant. Il est ensuite recommandé d’utiliser le système de menu
pour régler le premier contrôleur comme Master (Maître), le
second comme Slave1 (Esclave 1), le troisième comme Slave2 et le
quatrième comme Slave3. Tous les appareils suivent alors ce que
fait le contrôleur Master (Maître).
Contrôle 1-10
Le SmartControl 8 peut être raccordé à un contrôleur d’éclairage
externe ou à un ordinateur d’aquarium doté d’une sortie 1-10V et
adoptera un comportement esclave à partir de ce signal. Pour
activer ce mode, il suffit de naviguer dans le système de menu du
contrôleur et d’activer 1-10 V (ON). Les câbles de connexion vers
divers dispositifs sont vendus séparément. Si vous souhaitez
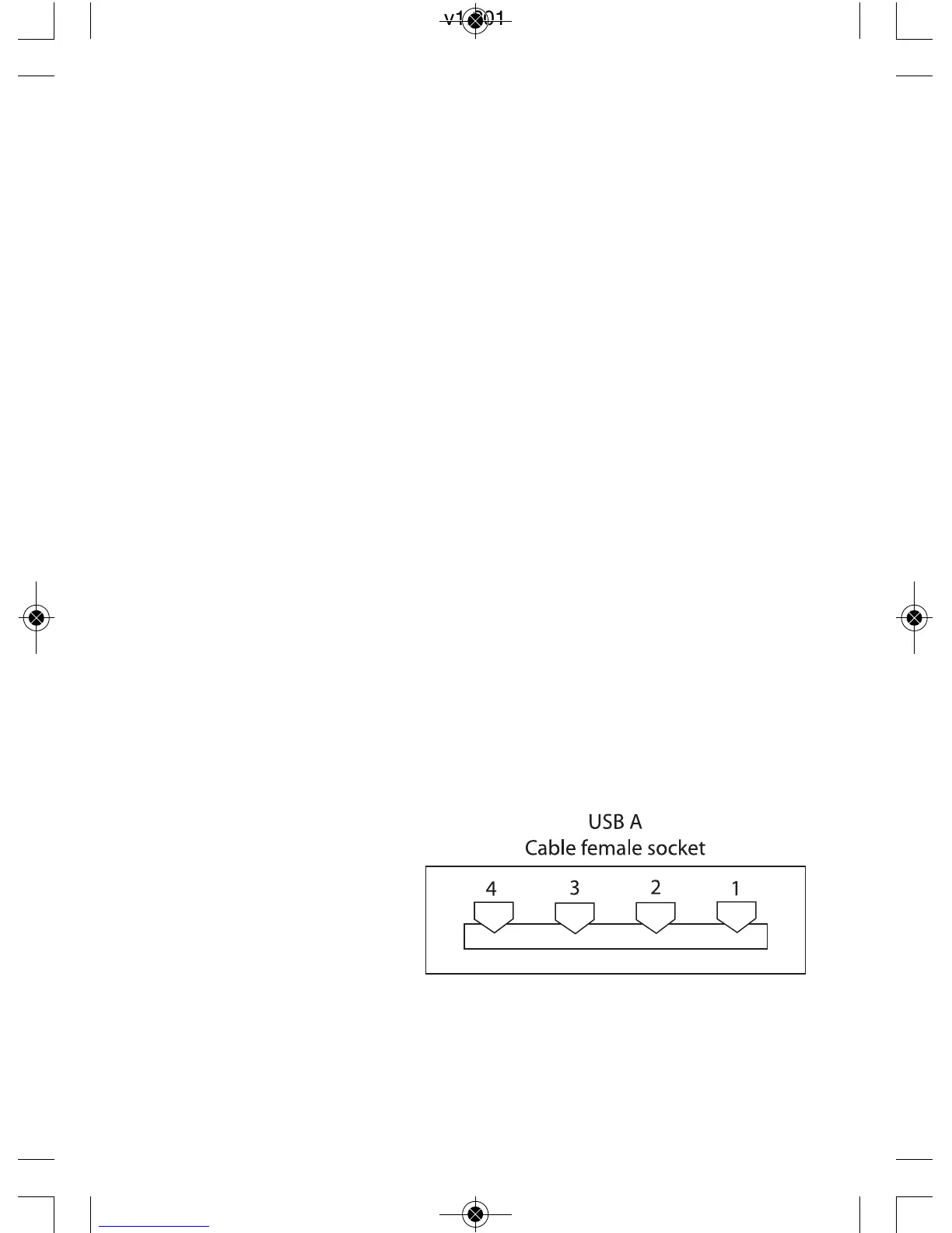
utiliser votre propre câble, connectez au niveau du connecteur
USB femelle de type A sur
le câble du capteur de
température, où la Broche
1 est 1-10 V et la Broche 4
est GND (MASSE) (voir le
schéma).
Tropical Marine Centre peut fournir un connecteur USB de type A
relié à une extrémité de câble libre à 2 conducteurs pour vous
assister dans cette tâche (fourni séparément). Contactez votre
revendeur local pour tout renseignement supplémentaire.
16
AquaRay SmartControl 8 instructions v1.2014 MULTI-LINGUAL_Layout 1 15/09/2014 15:2

Related product manuals