EasyManua.ls Logo

ARDES AR5I45 - Page 5

ARDES AR5I45
Print Icon
To Next Page IconTo Next Page
To Next Page IconTo Next Page
To Previous Page IconTo Previous Page
To Previous Page IconTo Previous Page
Loading...
5
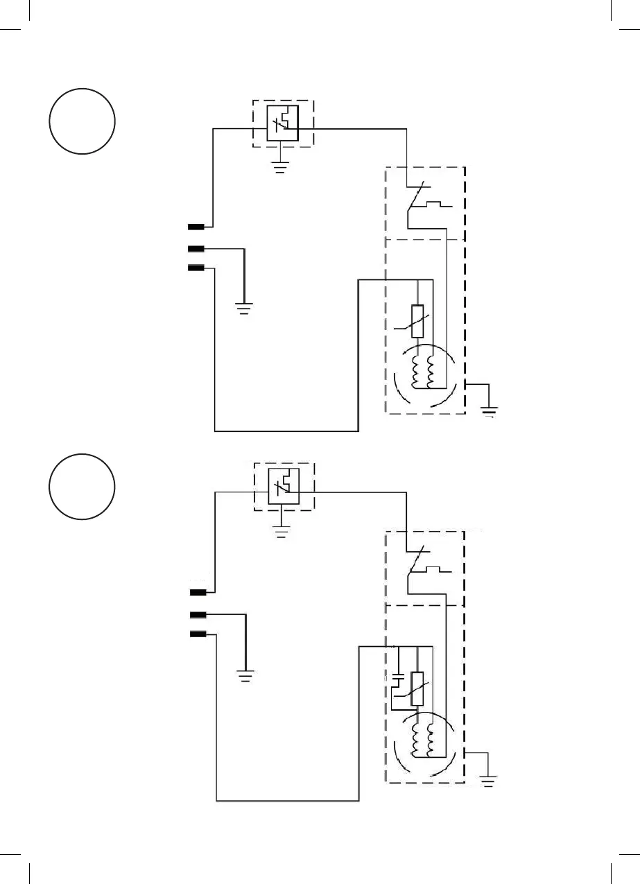
Schema elettrico
AR5I45
THERMOSTAT
YE/GN
YE/GN
YE/GN
L
E
N
PLUG
OVERLOAD
PROTECTOR
COMPRESSOR
THERMOSTAT
YE/GN
YE/GN
L
E
N
PLUG
OVERLOAD
PROTECTOR
STARTER
COMPRESSOR
YE/GN
AR5I67

Related product manuals