EasyManua.ls Logo

ARHAUS Carson - CONVERSION INSTRUCTIONS

Default Icon
128 pages
Print Icon
To Next Page IconTo Next Page
To Next Page IconTo Next Page
To Previous Page IconTo Previous Page
To Previous Page IconTo Previous Page
Loading...
4
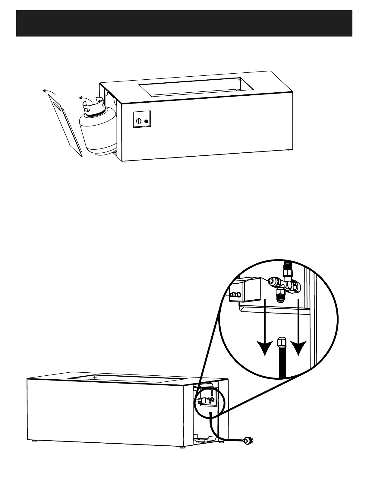
CONVERSION INSTRUCTIONS
1. Remove access door. Disconnect and remove propane tank.
2. Disconnect the black LP gas hose from the input valve on the body of the fireplace.
LP Hose
187/527