EasyManua.ls Logo

Askoll ES1 - Page 62

Askoll ES1
70 pages
Print Icon
To Next Page IconTo Next Page
To Next Page IconTo Next Page
To Previous Page IconTo Previous Page
To Previous Page IconTo Previous Page
Loading...
55
ERROR CODES
DE
SL
HU
EN
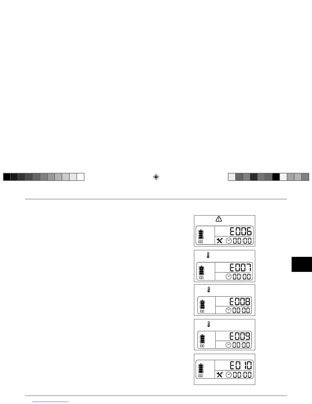
Battery B failure: the system detects a failure on
battery B. It is advisable to take the battery to an
authorized workshop.
Battery overtemperature: the system detects
excessive temperature on the batteries and inhibits
the supply power. Remove the vehicle from places
with high temperature and wait for the batteries to cool
down.
Inverter overtemperature: the system detects
excessive temperature on the electronic unit. The
system does not supply power until the temperature
drops. Remove the vehicle from sources of heat.
Engine overtemperature: the system detects
excessive temperature on the engine. It can function
at reduced power to allow cooling.
Headlight malfunction: the system detects the failure
or malfunction of the front lamp. Check its operation
and replace it at an authorized workshop.
%
A
%
A
%
A
%
A
%
A
eS1_eS2_eS3_Rev_0_EN.indb 55eS1_eS2_eS3_Rev_0_EN.indb 55 4/28/2017 9:05:18 AM4/28/2017 9:05:18 AM

Table of Contents