EasyManua.ls Logo

Assa Abloy EL366 - Page 22

Assa Abloy EL366
40 pages
Print Icon
To Next Page IconTo Next Page
To Next Page IconTo Next Page
To Previous Page IconTo Previous Page
To Previous Page IconTo Previous Page
Loading...
22
R
R
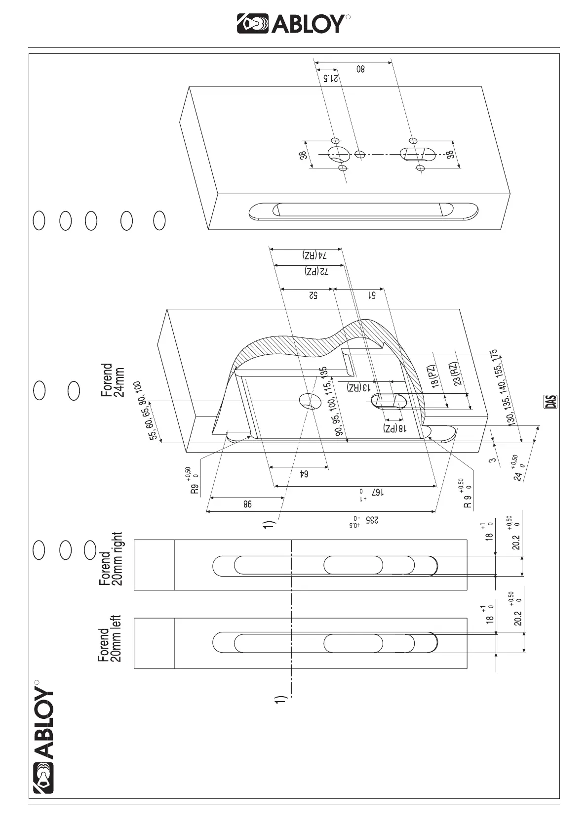
DRILLING SCHEME
Select suitable drillings
according to ttings.
BOHRSCHEMA
Wählen Sie die passenden
Bohrungen für die Montage.
SCHEMA
Perçages appropriés selon
les installations.
SCHEMA
Selezionare i fori appropriati per
le installazioni.
FREES EN BOOR
TEKENINGEN
Selecteer de juiste boren
conform de diameter van de
gaten in het slot.
EL560-EL563,
EL360, EL362,
EL160, EL162,
PE560, PE562,
PE360, PE362,
PE160, PE162
Seleccione los agujeros
adecuados en función de la
manilla elegida.
Âûáðàòü ïîäõîäÿùèé
ñïîñîá ñâåðëåíèÿ,
ñîãëàñíî êîìïëåêòóþùèõ.
Zvolte správné vrtání dle
typu kování.
Wybierz odpowiedni sposób
otworowania zale¿nie od
typu okuæ.
MECANIZADO DE
LAS PUERTAS
ÑÕÅÌÀ
ÑÂÅÐËÅÍÈß
VRTACÍ SCHÉMA
OTWOROWANIE
UK
RU
FR
DE
NL
ES
IT
CZ
PL
基于接口选用合适钻孔机.
CN
EL561: serrure compatible DAS, axe 50/70 mm en combinaison avec circuit CKELDAS

Related product manuals