EasyManua.ls Logo

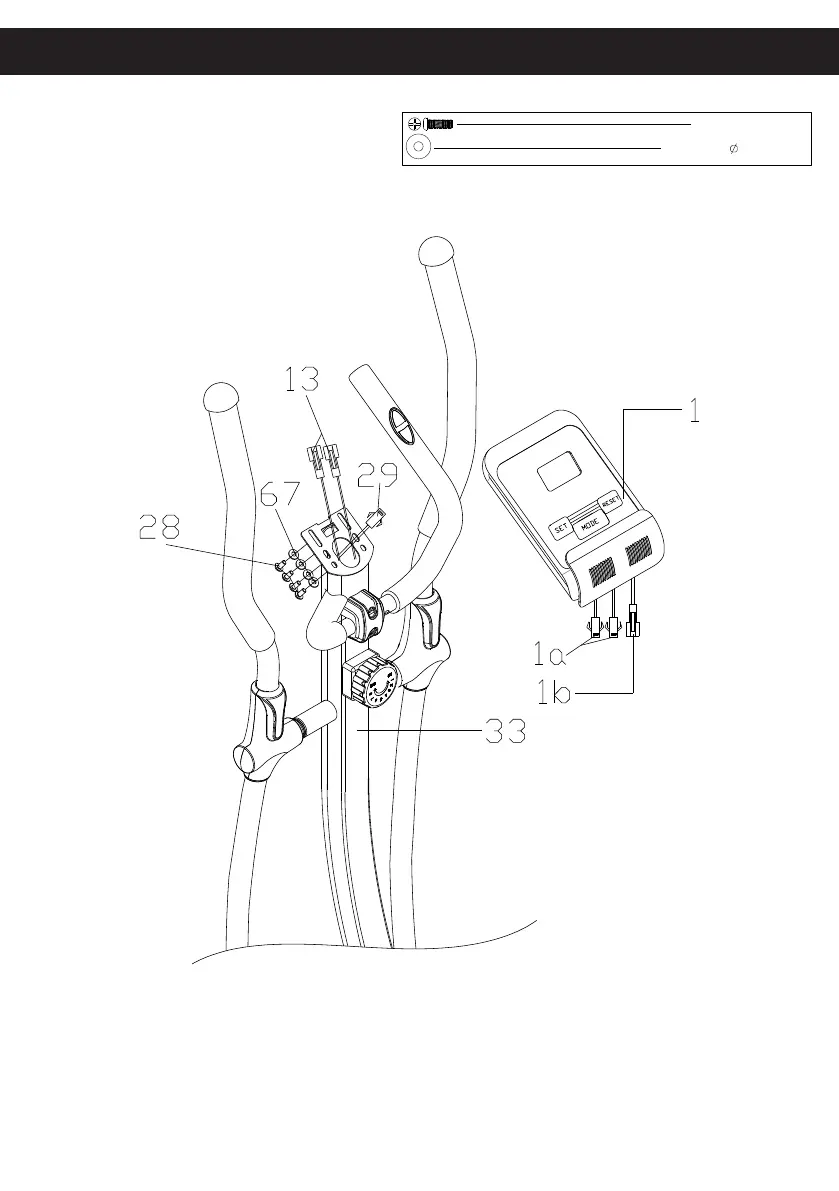
Athletic 500E - Assembly Step 9: Monitor Final Connection

Athletic 500E
52 pages
Print Icon
To Next Page IconTo Next Page
To Next Page IconTo Next Page
To Previous Page IconTo Previous Page
To Previous Page IconTo Previous Page
Loading...
STEP 9
15
28# M4*12 4PCS
67# d4.5* 12*1 4PCS