EasyManua.ls Logo

Audio Control EPICENTER - The Inside Connections; Input Grounding; Ground Isolation Jumpers; Bass Output Control Jumpers

Audio Control EPICENTER
16 pages
Print Icon
To Next Page IconTo Next Page
To Next Page IconTo Next Page
To Previous Page IconTo Previous Page
To Previous Page IconTo Previous Page
Loading...
page 6
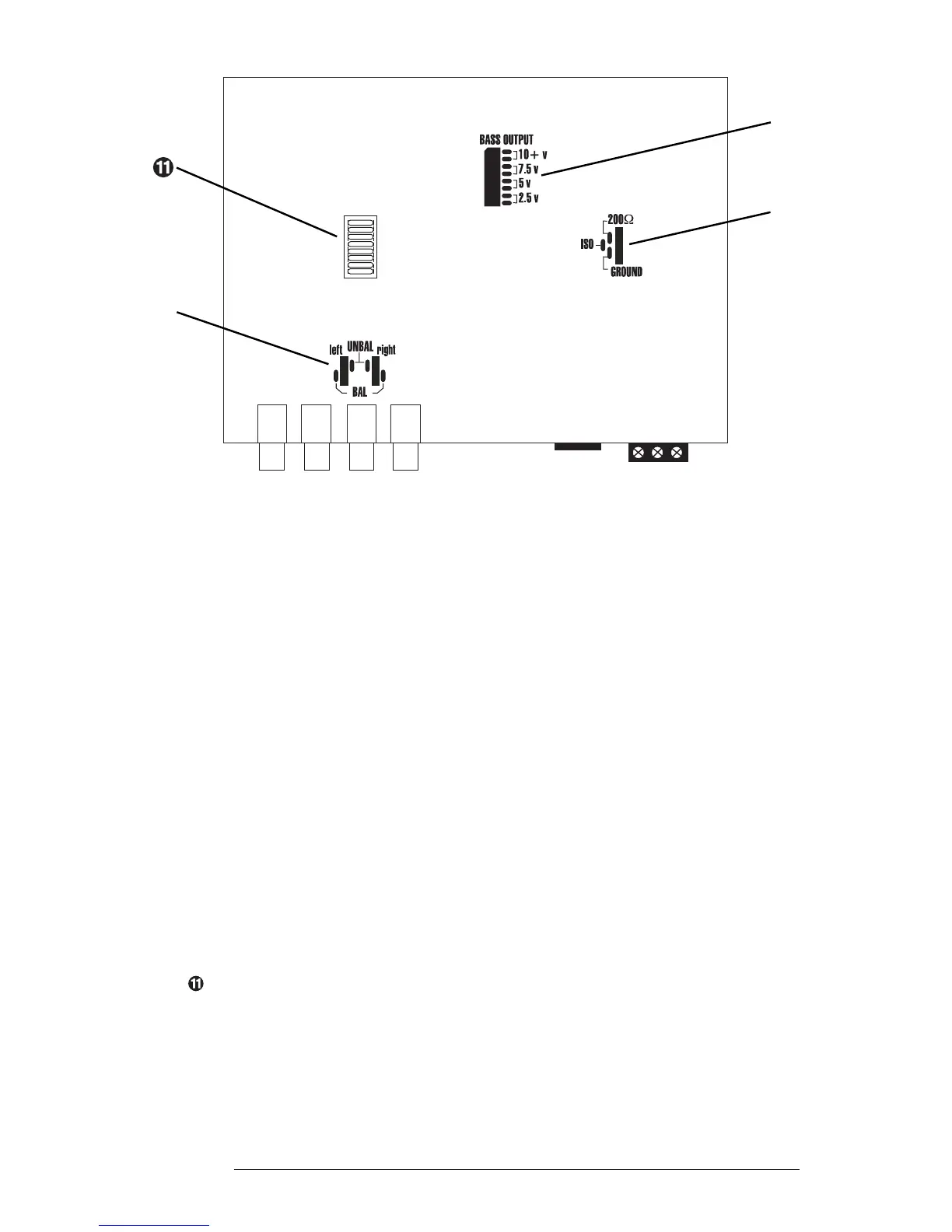
The Inside
Ñ Input Grounding: For most systems you can leave this jumper set in
the BALANCED position. In some systems, the source unit may look for a
ground through the RCA connectors. In that event, you should go ahead and
change the jumpers to the UNBALANCED position.
Ò Ground Isolation Jumpers: Occasionally alternator whine may
appear in a system because the source unit and amplifier may use different
grounding. To help in this situation, we have provided alternative grounding
connections. Make sure your system is turned OFF before you move these
jumpers.
Ó Bass Output Control Jumpers: Not all systems are designed the
same, Some systems are designed strictly for SPL (sound pressure level) while
others are a little more tame. The Bass Maximizer circuit can either increase
or decrease the signal voltage of the bass restoration circuit. Depending upon
your system, you may opt to change these jumpers to a higher or lower setting
to maximize your bass output and protect your speakers. In most systems the
factory setting will suit you fine. We recommend you try the factory setting
first.
11. PFM Subsonic Filter: The Epicenter Concert Series utilizes a PFM
(Programmable Frequency Match) filter which will help with speaker control
and amplifier power management. To change the PFM frequency, you need to
remove the top of the chassis and change the modules. Your local AudioCon-
trol dealer generally carries an assortment of these replacement modules. This
is discussed in detail on page 10.
Figure 3: Inside view of The Epicenter
Ñ
Ò
Ó

Related product manuals