EasyManua.ls Logo

AudioSource LS 300 - Speaker Setup and Placement; Speaker Placement Guidelines; Speaker Mounting; SW 300 Powered Subwoofer

AudioSource LS 300
4 pages
Print Icon
To Next Page IconTo Next Page
To Next Page IconTo Next Page
To Previous Page IconTo Previous Page
To Previous Page IconTo Previous Page
Loading...
Speaker Placement
The center channel speaker should be placed as close as possible to the TV, preferably either directly on top of or below it. This locks the
sound to the picture. Place the front speakers near the front corners of the room, either on a bookshelf or wall-mounted. Positioning near a
c o rner enhances bass perf o rmance. Place the surround speakers either to the side of, or behind, your listening position. Typical placement is
on the side walls, slightly above ear level, about two-thirds of the way back from the front of the room. This allows the surround speakers to
aim directly at the listener, placing you in the middle of a five-speaker sound field.
Speaker Mounting
The LS 300 speakers include U-shaped brackets to mount the speakers to the wall. For safety, always mount these speakers on a wall
that is reinforced from behind. Never mount a speaker on a wall made of unreinforced drywall or plasterboard. If you are unsure, consult
a professional contractor. These speakers can also be placed on bookshelves and most types of speaker stands.
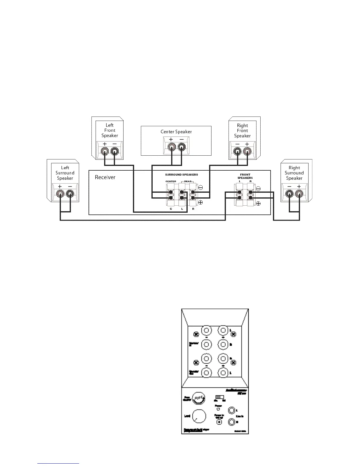
1. Connect the left front speaker terminals (+ & -) of your receiver to the left LS 300 front speaker.
2. Connect the right front speaker terminals (+ & -) of your receiver to the right LS 300 front speaker.
3. Connect the left surround speaker terminals (+ & -) of your receiver to the left LS 300 rear surround speaker.
4. Connect the right surround speaker term i n a l s (+ & -) of your receiver to the right LS 300 rear surround speaker.
5. Connect the center channel speaker terminals (+ & -) of your receiver to the LS 300/C center channel speaker.
Note: If you are using an outboard Dolby
©
Surround Processor, the speaker terminals for the center and rear/surround speakers will be found
on this component, not on your receiver.
Set-Up Diagram
About Subwoofers
Subwoofers are designed to extend the bass response of your
system beyond the limitations of most speakers. They are used
in conjunction with, not in place of, your existing left and
right speakers. A subwoofer can dramatically enhance a stereo
TV, a stereo system, or a full fledged home theater.
Features of the SW 300
The AudioSource SW 300 features a highly efficient ported
enclosure, a rugged 6.5-inch reinforced driver and a fifty-watt
amplifier with a passive low frequency crossover network.
Line level inputs and speaker inputs and outputs are provided
for fast and easy connection to virtually any system.
Using the Controls
Power
The power switch has two positions: off and on. When the
power LED is lit, the power is on.
Level
The level control adjusts the
volume of the SW 300. Once set,
the level control should not
re q u i re further adjustment. Begin
with the level control at the min-
imum position. Slowly incre a s e
the level until you can hear the
s u b w o o f e r. A subwoofer playing
too loud can give your system
a muddy sound, so be sure to
balance the subwoofer care f u l l y
with your other speakers.
Note: Output level is relative and can
be diff e rent from location to location.
Always re t u r n to the normal listen-
ing location to evaluate any setting
c h a n g e s .
SW 300 Powered Subwoofer