EasyManua.ls Logo

AURATON 2005 TX - Page 6

AURATON 2005 TX
11 pages
Print Icon
To Next Page IconTo Next Page
To Next Page IconTo Next Page
To Previous Page IconTo Previous Page
To Previous Page IconTo Previous Page
Loading...
View/Change temperature.
Press Temp, the thermostat enter View/Change temperature mode. The LCD will show the setting of the
current temperature mode ( , or ) which will be flashing. Press button or button to review or
change the temperature. Press OK will directly return to normal operation mode.
Note:
A. The temperature setting range is 5 to 30°C.
B. To lower the setting, enter View/Change temperature mode and press or until it reaches 30°C and
then the setting will return to 5°C. Continue to press until the desired setting comes.
C. Press and hold the keys, the setting will change rapidly.
D. Please note the temperature mode indicator. A means the comfort temperature is being viewed or
changed. A indicates economy temperature. If is shown, it is defrost temperature. Defrost temperature is
always at 7°C and is not changeable.
E. It is not always necessary to use OK key to return to normal operation mode. After 15 seconds of no key
pressed it will automatically return to normal mode.
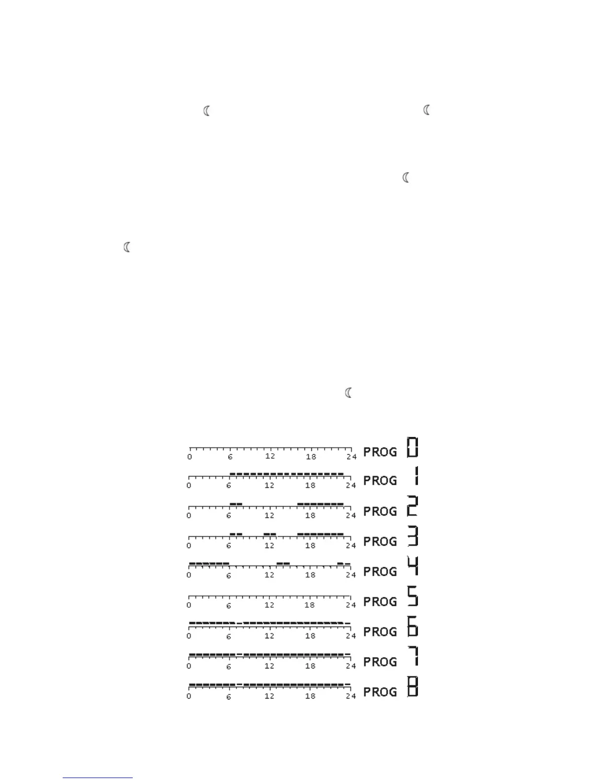
View/Change programs.
Press Prog button, the program of the current day is ready to be changed.
Press Prog button again can advance to the next day and the program of that day will be shown.
Press Prog# button to change the program.
Program 6, 7 and 8 are user-define programs. You can use or to change the distribution of comfort or
economy temperature and h to review the setting. Press OK can return to normal operation mode.
There are altogether nine programs available, as the diagram shown:

Related product manuals