EasyManua.ls Logo

Autonics CX6M-1P Series - OUT1 Output Time

Autonics CX6M-1P Series
87 pages
To Next Page IconTo Next Page
To Next Page IconTo Next Page
To Previous Page IconTo Previous Page
To Previous Page IconTo Previous Page
Loading...
5 Counter mode
42 © Copyright Reserved Autonics Co., Ltd.
(1) When changing output time setting as 500ms,
1) Press the key to move the flashing digit at the setting value display component.
2) Press the keys to set as 5 of the 2nd digit.
3) Press the
key to save SV and enter next parameter setting.
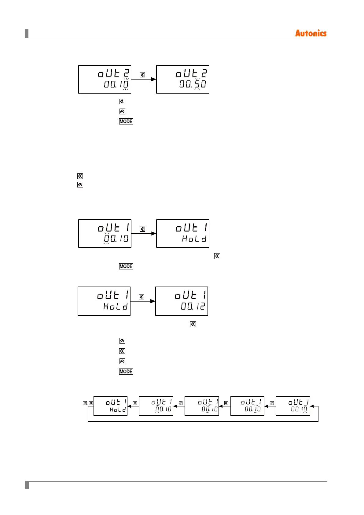
5.2.6 OUT1 output time
Set output operation (HOLD) and one-shot output time of OUT1 output. (unit: sec)
Setting range: 00.01 to 99.99s, HOLD
key: Moves the setting digit of output time.
key: Changes the flashing digit value.
In case of 1-stage setting model (CX6-1P□□), OUT1 does not appear.
(1) When changing output time setting as HOLD,
1) When number of tens digit flashes, press the key once and HOLD is displayed.
2) Press the key to save SV and moves to next parameter.
(2) When changing output time setting from HOLD to 120ms,
1) When HOLD is displayed, press the key once and moves the 1st digit of the setting
value display component.
2) Press the key to set as 2 of 1st digit.
3) Press the key to move digit to the 2nd digit.
4) Press the key to set as 1 of 2nd digit.
5) Press the key to save SV and moves to next parameter.
(3) Setting parameter order

Table of Contents

Other manuals for Autonics CX6M-1P Series

Related product manuals