EasyManua.ls Logo

Axis C3003-E - Page 13

Axis C3003-E
24 pages
Print Icon
To Next Page IconTo Next Page
To Next Page IconTo Next Page
To Previous Page IconTo Previous Page
To Previous Page IconTo Previous Page
Loading...
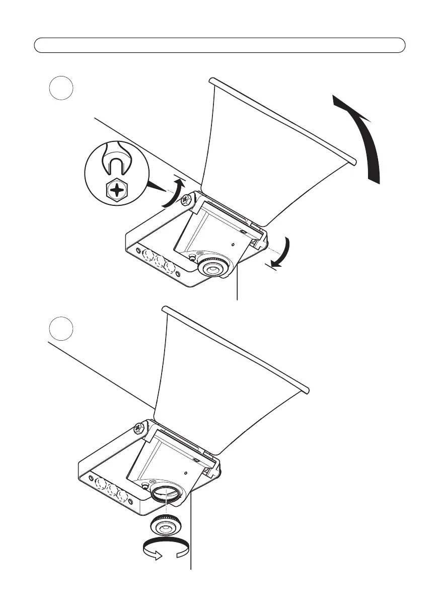
AXIS C3003-E Installation Guide Page 13
4
5
13

Other manuals for Axis C3003-E

Related product manuals