EasyManua.ls Logo

Axis C3003-E - Page 18

Axis C3003-E
24 pages
Print Icon
To Next Page IconTo Next Page
To Next Page IconTo Next Page
To Previous Page IconTo Previous Page
To Previous Page IconTo Previous Page
Loading...
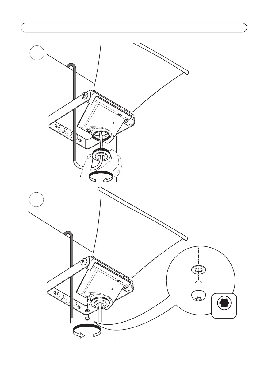
Page 18 AXIS C3003-E Installation Guide
T20
11
12

Other manuals for Axis C3003-E

Related product manuals