EasyManua.ls Logo

Backyard Discovery Bay Pointe - Fort Assembly - Main Structure; Step 1: Base Frame Assembly

Backyard Discovery Bay Pointe
43 pages
Print Icon
To Next Page IconTo Next Page
To Next Page IconTo Next Page
To Previous Page IconTo Previous Page
To Previous Page IconTo Previous Page
Loading...
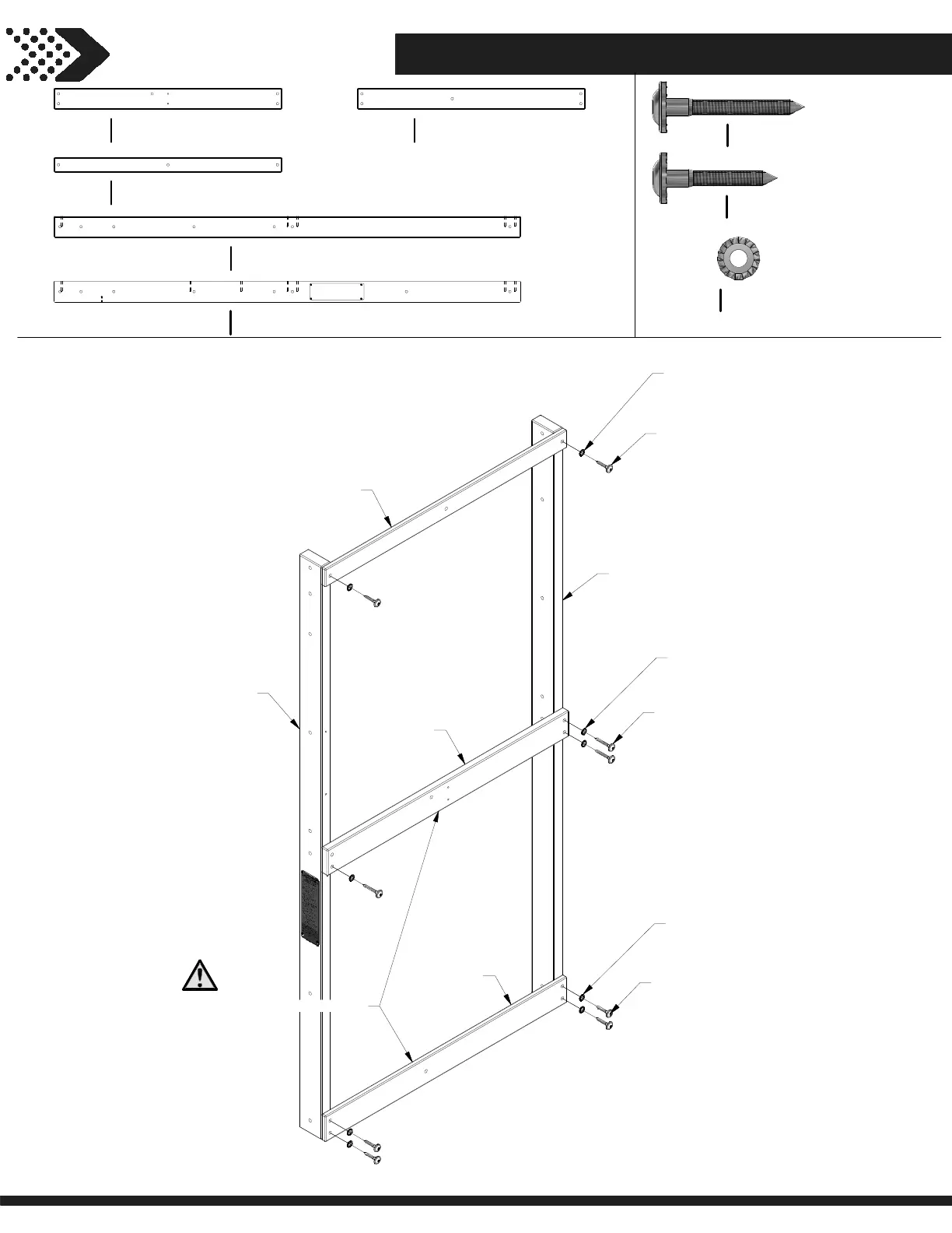
FORT ASSEMBLY
STEP 1
E1
(x1)
N3
(x1)
H8
(x1)
M5
(x1)
E2
(x1)
027
(x2)
LAG SCREW - 2"
030
(x2)
WASHER - 8x19
028
(x3)
LAG SCREW - 2 1/2"
TOP RAIL - W4L13220
5/8"x2 3/8"x36 5/8" (16x60x930)
N3
(1)
LAG SCREW WH
5/16x2 1/2
(3)
H100028
RIGHT FRONT UPRIGHT - W4L15660
1 3/8"x3 3/8"x75" (36x86x1905)
E1
(1)
FLOOR RAIL - W4L13295
1"x3 3/8"x36 5/8" (24x86x930)
H8
(1)
GROUND RAIL - W4L13209
5/8"x3 3/8"x36 5/8" (16x86x930)
M5
(1)
LAG SCREW WH
5/16x2
(6)
H100027
WASHER LOCK
EXT
8x19
(9)
H100030
POST ASSEMBLY - W2A02839
1 7/16"x3 3/8"x75" (36x86x1905)
E2
(1)
030
(x3)
WASHER - 8x19
027
(x4)
LAG SCREW - 2"
030
(x4)
WASHER - 8x19
NOTE HOLE LOCATIONS
20

Related product manuals