EasyManua.ls Logo

Bartec Varnost BM 4KTC71 - Page 4

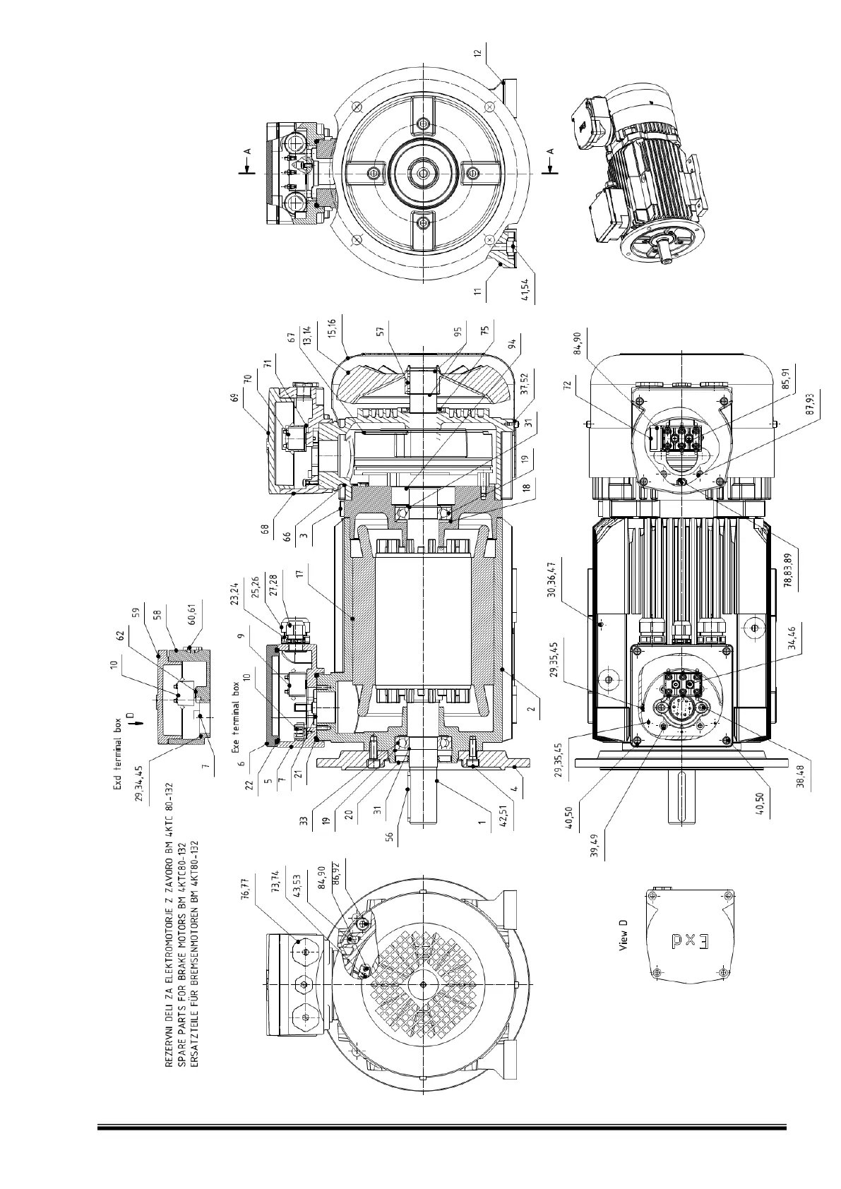
Bartec Varnost BM 4KTC71
Print Icon
To Next Page IconTo Next Page
To Next Page IconTo Next Page
To Previous Page IconTo Previous Page
To Previous Page IconTo Previous Page
Loading...
4