EasyManua.ls Logo

Baumatic BMGI250SS - BUILT-IN INSTALLATION INSTRUCTIONS

Baumatic BMGI250SS
24 pages
Print Icon
To Next Page IconTo Next Page
To Next Page IconTo Next Page
To Previous Page IconTo Previous Page
To Previous Page IconTo Previous Page
Loading...
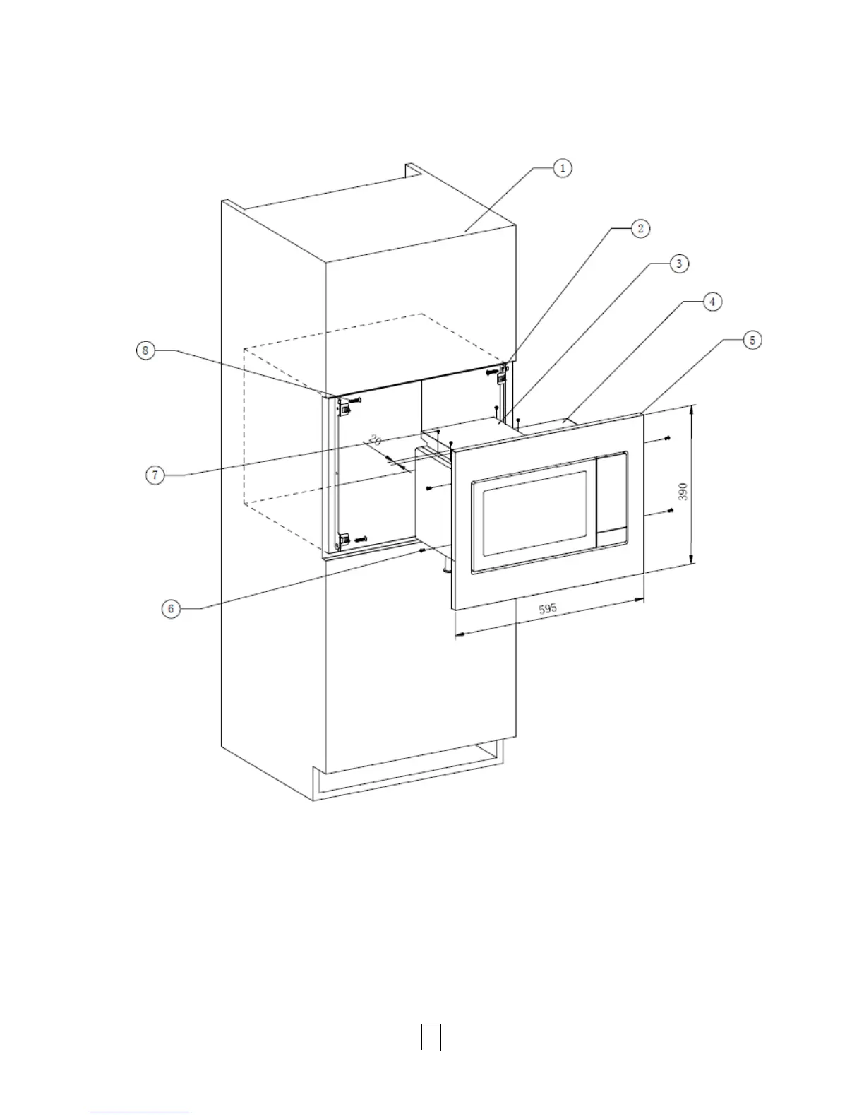
Built-in installation instructions:
1. Cabinet
2.
Frame fastener (x2)
3. Heat channel
4. Microwave oven
5. Frame kit
6. Screw 4x10 (x4)
7. Screw 4x8 (x4)
8. Screw 4x16 (x4)
12

Related product manuals