EasyManua.ls Logo

Black+Decker BD22MWSA - Continuous Draining Method; Pump Draining (Model BD50 PMWSA)

Black+Decker BD22MWSA
64 pages
Print Icon
To Next Page IconTo Next Page
To Next Page IconTo Next Page
To Previous Page IconTo Previous Page
To Previous Page IconTo Previous Page
Loading...
Page 12
SET UP & USE
2. Continuous draining
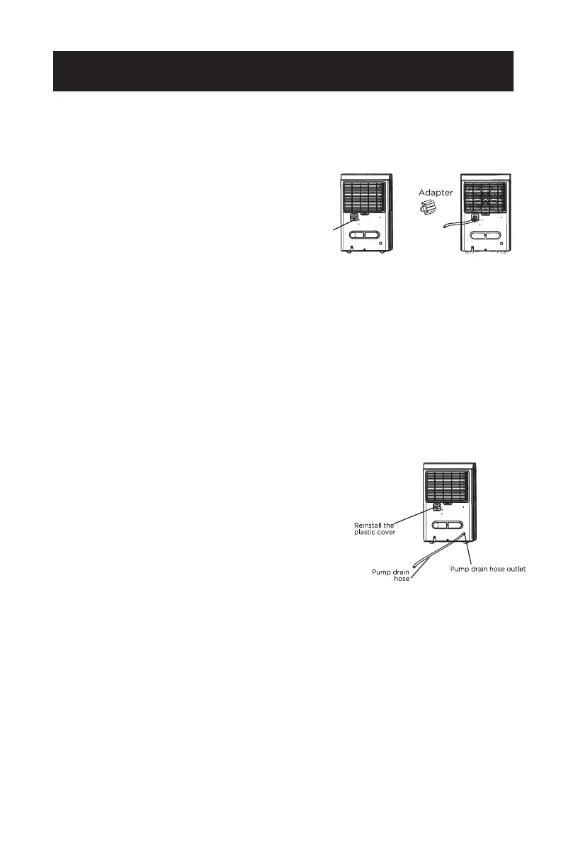
Water can be automatically emptied into a oor drain by attaching the unit
with a drain hose (included).
Remove the plastic cover from the
back drain outlet of the unit and set
aside, then insert the drain hose
through the drain outlet of the
unit and lead the drain hose to
the oor drain or a suitable
drainage facility.
When you remove the plastic cover, if there is some water in the back drain
outlet of the unit you must dry it. Make sure the hose is secure so there are no
leaks and the end of the hose is level or down to let the water ow smoothly.
Direct the hose toward the drain, making sure that there are no kinks that will
stop the water owing. Make sure the water hose is lower than the drain hose
outlet of the unit.
Select the desired humidity setting and fan speed on the unit for continuous
draining to start.
NOTE: When the continuous draining feature is not being used, remove the drain
hose from the outlet, and dry the water in the continuous drain hose
outlet.
3. Pump draining (model BD50PMWSA)
Water can be automatically emptied into a oor
drain or a suitable drainage facility by attaching
the pump drain outlet with a pump drain hose.
Remove the continuous drain hose from the unit
and install the plastic cover to the continuous
drain hose outlet of the unit by clockwise rotation.
Reset the pump drain hose into the pump drain
hose outlet for depth of 15mm at least, then lead
the water hose to the oor drain or a suitable drainage facility.
Press the pump pad of the unit to activated the pump operation. When the
bucket is full the pump starts to work.
NOTE: The pump may make a loud noise when it starts to work for 3~5 minutes.
It is a normal phenomenon.
Make sure the hose is secure so there are no leaks.
Direct the hose toward the drain, making sure that there are no kinks that will
stop the water owing.
Place the end of the hose into the drain and make sure the end of the hose is
level or down to let the water ow smoothly.
Select the desired humidity setting and fan speed on the unit for pump draining
to start.
Remove the plastic
cover by counter-
clockwise rotation.
Drain
hose

Related product manuals