EasyManua.ls Logo

Blaupunkt CMS 265 - Connections; Connection Details; Mounting and Installation; Installation Locations

Blaupunkt CMS 265
4 pages
Print Icon
To Next Page IconTo Next Page
To Next Page IconTo Next Page
To Previous Page IconTo Previous Page
To Previous Page IconTo Previous Page
Loading...
D
ANSCHLUSS
Der Anschluß 6 rot wird mit plus Batterie, der
Anschluß 7 schwarz mit minus Fahrzeug-
masse und der Steueranschluß 8 gelb mit
dem Steuerausgang (z. B. für Electronic-
antenne o. Verstärker) des Auto-Steuergerä-
tes verbunden. Die Ansteuerung der CMS 265
erfolgt 2kanalig, wahlweise durch die Vorver-
stärker-Ausgänge oder die Lautsprecher-Aus-
gänge des Auto-Stereogerätes. Die Vorverstär-
ker-Ausgänge werden über eine abgeschirm-
te Tonleitung an den Cinch (RCA)-Buchsen der
Woofer-Box angeschlossen. Bei Ansteuerung
durch die Lautsprecher-Ausgänge werden die
Eingangsleitungen Pos. 9, : zu den am
nächsten liegenden Lautsprecherkabeln (Front
oder Heck) links und rechts geführt, diese wer-
den aufgetrennt und mit den Eingangsan-
schlüssen verbunden. Die Polarität der An-
schlüsse + oder - ist unbedingt zu beachten.
Auch Brückenendstufen (BTL) können direkt,
ohne zusätzlichen Adapter angeschlossen
werden.
GB
CONNECTIONS
Connect red wire 6 with positive battery, the
black wire 7 with negative vehicle ground and
the yellow control wire 8 with the control
output (e.g. for electronic aerial or amplifier) of
the car stereo equipment. The CMS 265 has
two drive options, either via the preamplifier
output terminals or the loudspeaker output
terminals of the car stereo equipment.
Preamplifier output terminals are connected to
cinch (RCA) jacks of the Woofer Box via a
shielded audio line. When using the loudpeaker
output terminals as drive option, run the input
leads 9 and 1 to the nearest loudspeaker
cables (front or back) on the left and on the
right, separate them and connect to the input
terminals. The polarity of the connections, + or
-, must be observed. Bridge output terminals
(BTL), can also be connected without an addi-
tional adaptor.
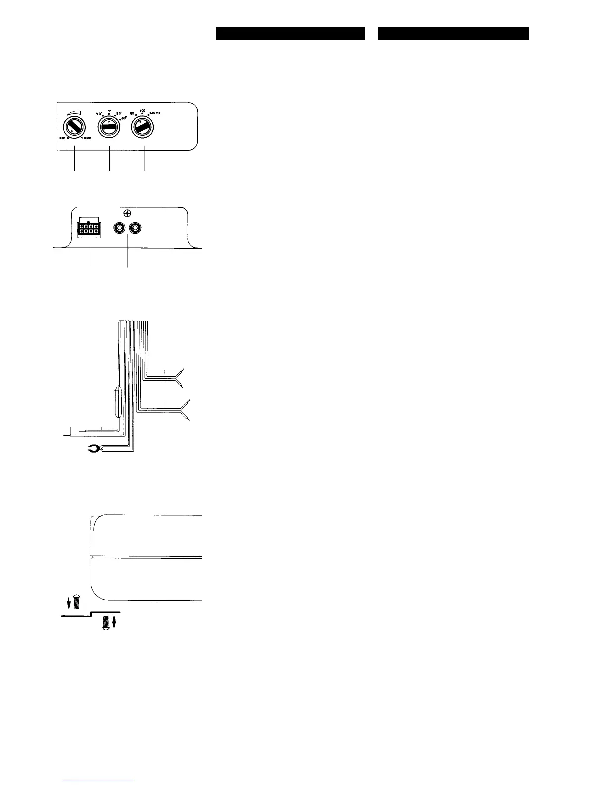
1 Eingangsempfindlichkeit
2 Phasenlage
3 Obere Grenzfrequenz
4 Anschlußstecker
5 Vorverstärker Eingänge
6 + Batterie, rot
7 - Masse, schwarz
8 EIN/AUS Steuereingang, gelb
9 Lautsprecher-Eingang links,
+ grün, -grün/schwarz
: Lautsprecher-Eingang rechts,
+ grau, -grau/schwarz
; Sicherung 7 A
1 Input sensitivity
2 Phase adjustment
3 Crossover frequency
4 Connection sockets
5 Preamplifier input jacks
6 + battery, red
7 - ground, black
8 ON/OFF control input, yellow
9 Loudspeaker input left,
+ green, - green/black
: Loudspeaker input right,
+ grey, -grey/black
; Fuse 7 A
INSTALLATION
Possible positions for installation vary
according to the type of car. If installed directly
on a hard base (side or bottom plate), we
recommend to use the enclosed, self-adhesive
foam padding between the housing, supporting
angle and installation surface.
TUNING
As basic tuning before initial operation we
recommend the following switch and control
settings: response 1 on minimum, phase 2
on 0°, filter 3 on 80 Hz. Switch on the
equipment and select a piece of music, either
on cassette or CD, with a prominent bass line.
Raise the volume of your stereo equipment until
you reach a maximum volume without
distortion. Now turn up the response control
1 carefully unitl you hear a distinct increase
in the bass level. By means of switch 3, adjust
the filter so that the acoustic blend of the builtin
loudspeakers and the woofer system is
unnoticeable. Finally adjust the phase position
2 so that the bass resonates but cannot be
spatially located as a source of sound. Check
your tuning of the CMS 265 with the bass
control fully turned up and, if necessary, with
the loudness turned on. Overamplification of
the ACITVE WOOFER BOX caused by too high
sensitivity setting 1 leads to distorded
reproduction and can irreparably damage the
loudspeaker.
MONTAGE
Mögliche Montageorte richten sich nach der
Art des Fahrzeuges. Erfolgt die Montage di-
rekt auf harten Unterlagen (Seiten-/Boden-
blech) empfehlen wir beigefügtes, selbst-
klebendes Schaumstoffpolster zwischen Ge-
häuse, Haltewinkel und Montagefläche zu ver-
wenden.
EINSTELLUNGEN
Als Grundeinstellung vor der Inbetriebnahme
empfehlen wir folgende Schalter- und Regler-
positionen: Empfindlichkeit Pos. 1 auf Mini-
mum, Phase Pos. 2 auf 0°, Filter Pos. 3 auf
80 Hz. Schalten Sie die Anlage ein und wäh-
len Sie von Cassette oder CD ein Musikstück
mit ausgeprägter Basswiedergabe. Erhöhen
Sie die Lautstärke an Ihrem Stereogerät bis
zum maximalen unverzerrten Lautstärke-
pegel. Drehen Sie nun den Empfindlichkeits-
regler 1 vorsichtig so weit auf, bis Sie eine
deutliche Verstärkung des Tieftonpegels hören.
Danach wählen Sie mit Schalter 3 eine Filter-
einstellung, die Ihnen einen übergangslosen
Höreindruck zwischen den Einbaulaut-
sprechern und dem Woofersystem vermittelt.
Abschließend passen Sie mit Schalter 2 die
Phasenlage so an, daß der Bass druckvoll
klingt und als Schallquelle räumlich, möglichst
nicht mehr geortet werden kann. Überprüfen
Sie Ihre Einstellungen der CMS 265 auch mit
voll aufgedrehtem Bassregler und ggf. einge-
schalteter Loudness. Eine Übersteuerung der
ACTIV-WOOFER-BOX durch zu hoch gewähl-
te Verstärkung (Pos. 1) führt zu verzerrter
Wiedergabe und kann den Lautsprecher zer-
stören.
12 3
45
:
;
6
8
7
9

Related product manuals