EasyManua.ls Logo

Blitz HydroLift Series - Page 53

Default Icon
Print Icon
To Next Page IconTo Next Page
To Next Page IconTo Next Page
To Previous Page IconTo Previous Page
To Previous Page IconTo Previous Page
Loading...
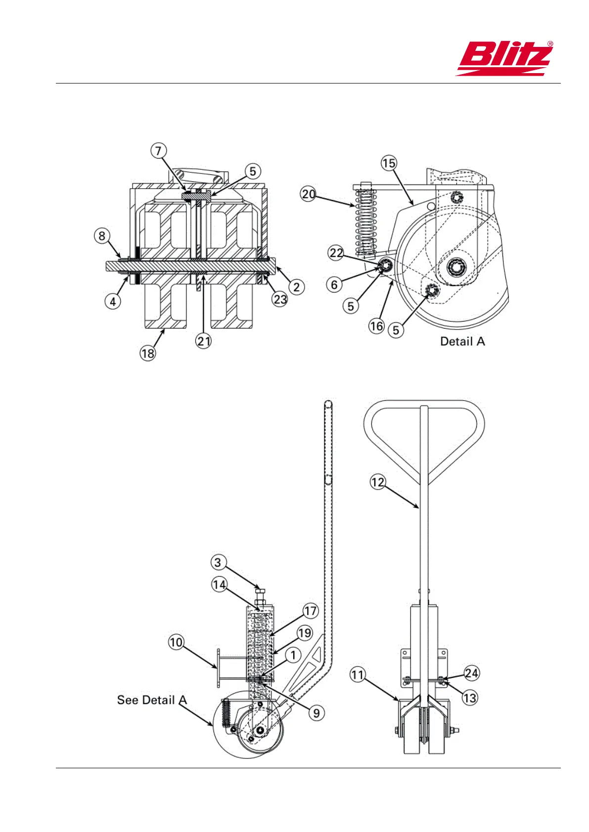
HydroLift
Technischer Anhang
Deichsel HydroLift S3 6.2 t / 7.5 t und S2 8.2 t

Related product manuals