EasyManua.ls Logo

Bluebird H424 - Page 35

Bluebird H424
44 pages
Print Icon
To Next Page IconTo Next Page
To Next Page IconTo Next Page
To Previous Page IconTo Previous Page
To Previous Page IconTo Previous Page
Loading...
35
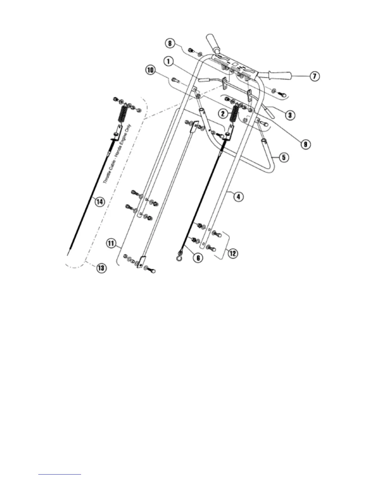
Parts Handle & Control - Model 742
ITEM PART NO. QTY. DESCRIPTION
1 ...... 0034 .................2 ........... GRIP, CLUTCH, 1 EACH
2 ...... 5129 .................1 ........... SPRING, CLUTCH
3 ...... 7149 .................1 ........... CLUTCH CONTROL, W/GRIPS
.......... 7405 .................1 ........... CLUTCH/THROTTLE CONTROL -
................................................... HONDA ENGINE ONLY
4 ...... 7406 .................1 ........... HANDLE W/GRIPS
5 ...... 7174 .................1 ........... HANDLE, CONTROL, REAR WHEEL
6 ...... 7189 .................1 ........... CLUTCH CABLE
7 ...... 7191 .................1 ........... GRIPS, PAIR
8 ...... 7221 .................1 ........... FASTENER KIT, CLUTCH CONTROL TO HANDLE
9 ...... 7222 .................1 ........... CLUTCH CABLE KIT
................................................... (COMPLETE ASSY. EXCEPT #5129)
10 ...... 7223 .................1........... PIN KIT, REAR WHEEL CONTROL HANDLE
11 ...... 7224 .................1 ........... REAR WHEEL CONTROL ROD KIT
12 ...... 7117..................2 ........... FASTENER KIT, HANDLE
13 ...... 7407 .................1........... THROTTLE CABLE KIT - HONDA ENG. ONLY
................................................... (COMPLETE ASSY. EXCEPT #5129)
14 ...... 7408 .................1........... THROTTLE CABLE

Other manuals for Bluebird H424

Related product manuals