EasyManua.ls Logo

BMW E46/2 Coupe - Page 5

BMW E46/2 Coupe
55 pages
Print Icon
To Next Page IconTo Next Page
To Next Page IconTo Next Page
To Previous Page IconTo Previous Page
To Previous Page IconTo Previous Page
Loading...
5
E46 Models
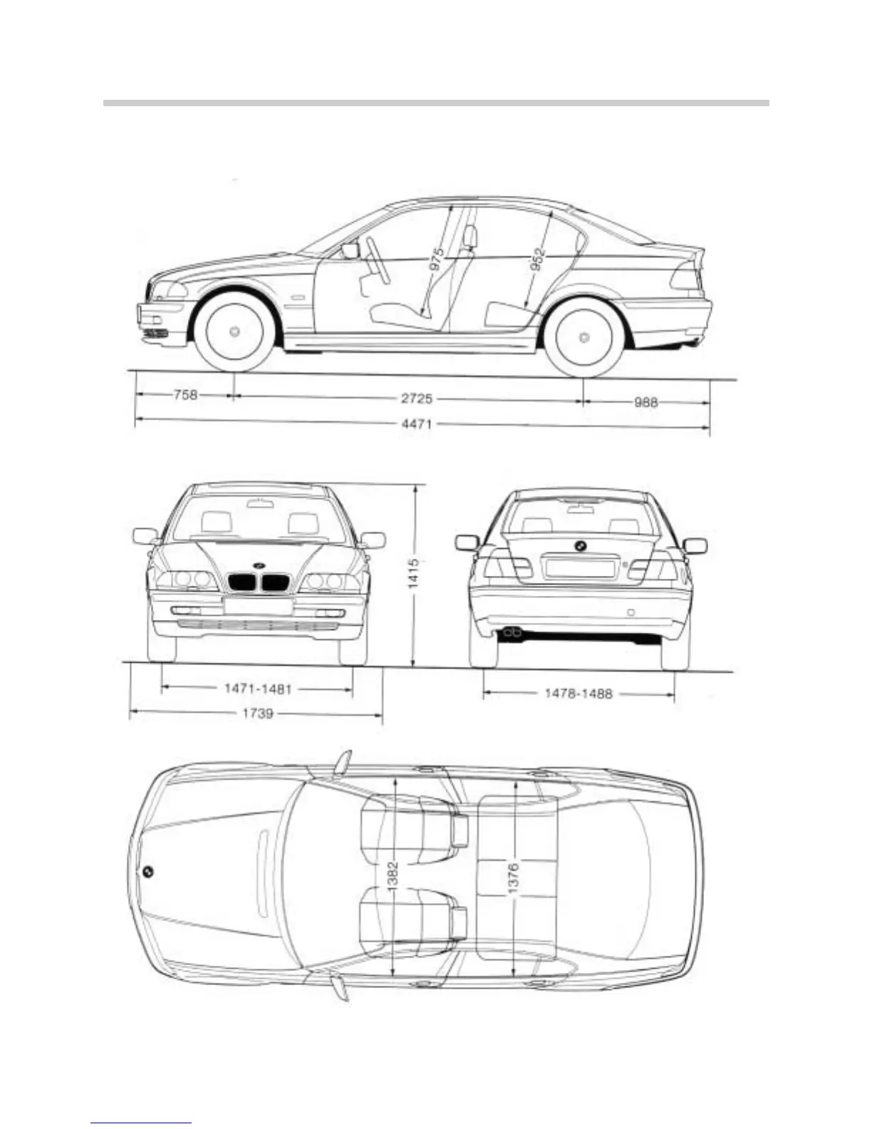
E46/4 Dimensions

Related product manuals