EasyManua.ls Logo

Bogen PCMCPU - Page 15

Bogen PCMCPU
24 pages
Print Icon
To Next Page IconTo Next Page
To Next Page IconTo Next Page
To Previous Page IconTo Previous Page
To Previous Page IconTo Previous Page
Loading...
15
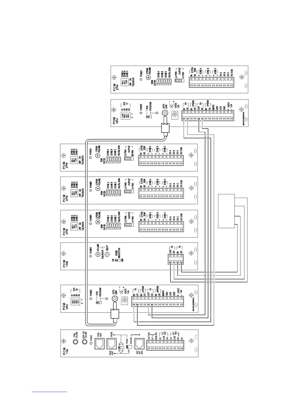
PCMCPU
COM 70V
T
R
BOGEN PAGING
AMPLIFIER
SATELLITE ASSEMBLY #1
MASTER ASSEMBLY
Two-Way Talkback