EasyManua.ls Logo

BONFIGLIOLI TA 40 - Page 22

BONFIGLIOLI TA 40
34 pages
To Next Page IconTo Next Page
To Next Page IconTo Next Page
To Previous Page IconTo Previous Page
To Previous Page IconTo Previous Page
Loading...
20
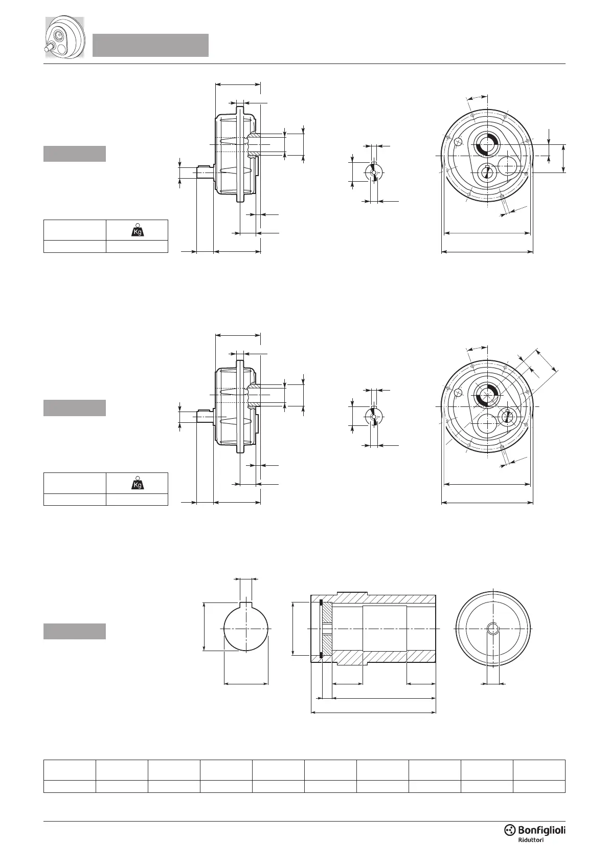
TA 35
TA 35
TA 35_D
OUTPUT
B G7 BB BH G H R S T V
TA 35 35 10 38.3 10 M10 124 42 106 30
TA 35 16
TA 35 D 18
240
8.5
79
~ 20°
31
256*
TA 35
40 126
124
44
12
20.5*
19
h6
B
50
8.5
83
23
~ 20°
256*
TA 35_D
40 126
124
44
12
20.5*
19
h6
B
50
240
M6
6
21.5
M6
6
21.5
240
8.5
79
~ 20°
31
256*
TA 35
40 126
124
44
12
20.5*
19
h6
B
50
8.5
83
23
~ 20°
256*
TA 35_D
40 126
124
44
12
20.5*
19
h6
B
50
240
M6
6
21.5
M6
6
21.5


* Le superci sono grezze * Surfaces are unmachined * Oberächen nicht bearbeitet * Les surfaces sont non-usinées

Related product manuals