EasyManua.ls Logo

Branick 7600 - Page 5

Default Icon
12 pages
Print Icon
To Next Page IconTo Next Page
To Next Page IconTo Next Page
To Previous Page IconTo Previous Page
To Previous Page IconTo Previous Page
Loading...
4
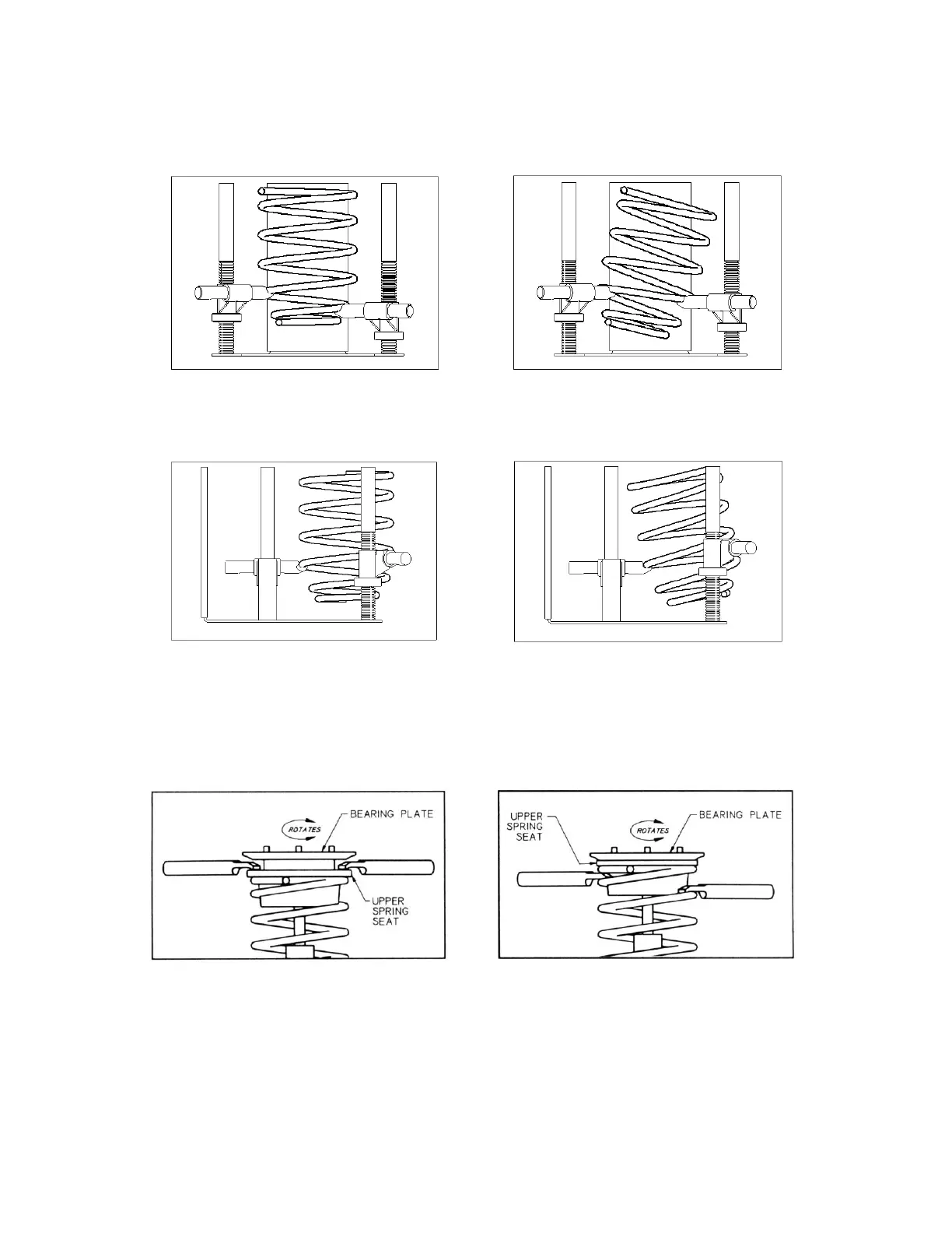
D) Align strut assembly by adjusting the lower left and right hooks. When properly aligned, the spring of the
strut assembly will be parallel to the posts of the tool when viewed from both the front and side.
Front Front
CORRECT INCORRECT
Side Side
CORRECT INCORRECT
E) Identify the strut assembly type you are servicing.
Type 1 Type 2
This type of strut has a bearing plate (which This type of strut has a bearing plate (which
rotates) and upper spring seat. Place upper rotates) and upper spring seat without space
hooks on the upper spring seat. Do not between them. Place upper hooks on the
place hooks on bearing plate. highest coil of the spring. Do not place hooks
on bearing plate.